来源:陆玖财经
在如今这个互联网消费大行其道的时代,这些没有核心品质的品牌,正在通过直播、电商等手段,收割快钱。
图片来源于陆玖财经70后的白酒、80后的红酒、90后的饮料酒,低度化的大趋势已经是酒业共识。
江记酒庄梅见青梅酒等品牌的成功,一时间引起了行业的争相模仿,各种山寨产品冒出了一大堆,果酒的时代可能确实来了,但绝大多数参与者都只想赚快钱,而不是好好酿酒。
根据中研普华研究报告《2020-2025年中国果酒行业市场深度调研及投资价值咨询报告》统计分析显示,2019年,国内果酒行业(包含葡萄酒)的市场规模约为2315亿元,较2018年上涨了6.24%。
今年成都糖酒会上,各种新品牌推出了琳琅满目的各类果酒,这些果酒的品牌大多是新面孔,花哨或奇异的外形、五彩缤纷的酒体非常抓眼球,甚至有些打开瓶盖瓶子会发光,一看就是主打年轻人市场的品牌,甚至可以再精确一点,是主攻年轻女性市场的品牌。
颜值之下,酒怎么样?陆玖财经询问了几家,发现名叫“那些年”的“灯泡酒”,出厂价大约在6元左右,瓶子和酒的成本价几乎相同,并且是贴牌;江苏唯一果酒厂销售人员直言,还未上市新品梅酒是“针对”已经有一定名气的梅见,不过售价更低;网红酒品牌“猫呗小酒”是贴牌酒,全套代工只要16元/瓶,京东售价59元/瓶。
过度包装、贴牌、蹭其他品牌的热点……这些都是果酒市场中的常见现象,但是在如今这个互联网消费大行其道的时代,这些没有核心品质的品牌,正在通过直播、电商等等手段,收割快钱,但是快钱始终走不远。
01
一个好酒瓶胜过一瓶好酒
糖酒会上,一个名为“那些年灯泡酒”的小摊位吸引了不少人的目光。所谓“灯泡酒”,不仅瓶身做成了灯泡的形状,拧开瓶盖后瓶子还真的能发光。

“我们这个拧开能一直亮12个小时,存放的话一年半还可以亮。”灯泡酒展位的工作人员(下称“灯泡人”)告诉陆玖财经,“我们果酒是贵阳黄氏酒厂(代工),(黄氏酒厂)被业界称为‘果酒茅台’。”
炫酷酒瓶加‘果酒茅台’,145ml一瓶要卖多少钱?出乎意料的,给经销商只要10元/瓶,建议零售价25元/瓶。
在随后的交流中,灯泡人透露,仅做瓶身就要比普通包装多花两三块钱:“我们这个瓶子,这个发光的整套包装就要好几块。”
出货价10元,包装就要好几块,代工厂要赚钱,委托方也要赚钱,那瓶子里面的酒究竟值多少钱?是不是为了压缩成本,就是酒精兑水加香精?灯泡人称,他们的酒“不像RIO那种加香精、香料”,而是水果酿造。
恰巧黄氏酒厂自己也参加了糖酒会。陆玖财经向黄氏酒厂的工作人员(以下称“黄氏人”)核实,黄氏人证实了灯泡酒是他们酿造的,不过称灯泡酒一次性开模量大,“起码在玻璃厂订了三百万个这种瓶子”,所以每个瓶子的成本没有那么高,“价格差不多一两块钱。”
“他们这个贴出来也就7块钱一瓶。”黄氏人称。陆玖财经估算后戏称灯泡酒的成本“一半瓶子钱一半酒钱”,得到了黄氏人“差不多”的确认。
生产灯泡酒的聚醇酒业自称“与规模大、实力雄厚的大型酒业集团合作开发,以创新思维,结合二十一世纪的消费理念,秉承高颜值、高品质、高性价比的三高原则,打造自有知识产权的文化创意产品”。按照目前的情况看来,灯泡酒做到了“高颜值”,剩下“二高”嘛,就看消费者主要是为了买酒还是为了买酒瓶。
如果把酒瓶当作文创产品,按“买个装饰品竟然还送点真酒”的思路,25元/瓶也不算贵。聚醇酒业不如改名叫“聚醇文创”。
以瓶身设计为卖点的不止灯泡酒。江苏唯一果酒厂的展位摆满了各种各样的瓶子,“我们家的瓶身设计都是有专利的。”

业内人士江崇王向陆玖财经表示:“我个人的观念是线下销售的酒更注重包装。原因之一是线上销售需要走快递,过度包装对快递的安全性没有保障。第二是线下销售主要是通过人脉以及讲故事,通过这种方式进行的销售,包装会让产品增值,让人看不清楚你这个(酒)值多少钱,更容易有好的利润。”
另一位业内人士王婧(化名)补充道:“包装好的酒对于经销商来说利润会高一点,但是对于厂家利润更高,至少利润翻3倍。”
没想到,“颜值经济”已经延伸到了酒行业。新品牌靠“卖酒瓶”真能发展起来吗?
“如果一个新的品牌通过过度包装来给自己制造更大的溢价空间,比如把一瓶原本200块钱的酒卖到600,我个人认为它不是一个正规的品牌运作方式,它做不大。它可能有资源、有群体、有圈子,可以通过这个来赚一笔钱、做一个生意,但不是做一个品牌。”江崇王说,“所以在新品牌(发展)当中,漂亮的包装可以起到一个辅助作用,但是对于这个品牌本身的塑造并不是关键的因素。”
02
所谓互联网思维就是靠“脸”
过度包装除了为了高利润,还因为年轻人,尤其是年轻女性,更容易为颜值经济买账。
传统白酒面临“年轻人不感冒”的问题,近几年已经受到了热议。酒行业入门本身就困难,尤其是在日渐萎缩的高度传统白酒市场,和成熟品牌抢市场,更是难上加难。年轻人偏好低度酒,女性消费群体的崛起,又让低度果酒、气泡酒、调制鸡尾酒等“小甜水”的市场越来越大。
去年天猫“55大促”、“618”、“双11”、年货节期间的数据都显示,果酒类在每次大促和购物节期间,果酒类的销售同比增长率都在100%以上。京东超市“双11”当天果酒销售额同比增长近40倍,考拉海购今年春节期间“女性酒”(包括气泡酒、果酒等)增长300%,尤其是90后,更偏爱果酒。

与传统白酒相比,果酒赛道现在竞争小的多,市场尚在开发中,加上花果酒赛道品牌粘性低,目前比拼的仍是营销能力,所以想快速捞一笔的人都涌入了这个赛道。
就像主攻年轻女性的国产化妆品,不管产品好不好用,只要舍得在营销上舍得大笔砸钱,总能砸出市场,比如完美日记;或者只要外观精美,总有人买回家摆着看,比如花西子。现在的花果酒市场新品牌都呈现出了这样的趋势。
至于口感,虽然是一个非常主观的评价标准,但是有些长得好看的品牌喝起来的确除了糖浆味没有别的味道,还有一些可能糖浆没放够,劣质酒精的味道没盖住。尝了一圈,按陆玖财经“老酒鬼”的主观感受,徒有其表的酒真不少。
03
酒行业正因为贴牌变得没门槛
有炫酷外观的酒让消费者掏钱买瓶子,那么是不是对于真正想喝酒的人,买包装朴素的酒一定划算?也未必。
“猫呗酒类京东自营旗舰店”有100.5万关注量,而这个牌子是贴牌产品,代工厂依然是黄氏酒厂。陆玖财经询问得知,黄氏酒厂两万吨起可以代工,按最低量下单,1瓶和猫呗花果酒完全一样的酒,连标签都贴完给委托方也只要16元/瓶,而猫呗单瓶售价59元,翻了快三倍。6瓶装的套装折合下来单瓶不到50元,也翻了两倍。
在此前询问唯一果酒厂工作人员(以下称“唯一人“)时,他曾表示他报的建议零售价除以2基本上就是经销商的拿货价。而猫呗在电商平台开旗舰店,至少省了一道经销商的费用,利润率极高。
十七光年同样是贴牌酒,是上市公司上海贵酒股份有限公司旗下品牌,根据买家晒图,生产商为陕西无时闲酒业有限公司。
那么,走代工贴牌这条路,完全没有技术含量,所谓的酒类新品牌是不是更像一家专业营销公司?如果OEM/ODM酒厂不甘心于代工,而想创自己的品牌(如黄氏酒厂),这些贴牌的酒怎么办?
在酒企工作的江彤(化名)认为:“创业者从零到一不容易,轻资产模式是商业世界常见的经营模式,但建议还是要尽全力自建优质产品供应链。这是个动态的答案,最终还是要拉长时间维度,看这家公司有没有深度介入酿酒工艺、酒体研发,看他最终有没有建立自己的酒厂。”
江崇王同样认为贴牌模式在品牌发展初期无可厚非:“因为传统的白酒行业是比较固化的,行业外的力量进入到这个领域内,往往贴牌是他们一开始做的基本方式,包括现在有酱香酒做到二三十亿销售的,一开始也是通过贴牌的方式来做。”
除了自建供应链之外,江崇王还提到另一种品牌发展的路线:“掌握了流通之后收购酒厂,这条路是很多(新品牌)想走的。”
虽然可能实现的路径不同,但是两位业内人士的分析都指向同一个终点:刚开始贴牌没问题,但如果想要长远发展,必须掌握核心技术和供应链。
有趣的是,即便业内人士认为贴牌没有问题,品牌商却对此讳莫如深。陆玖财经在京东和淘宝上询问了十七光年和猫呗官方旗舰店,其产品是否为其他酒厂代工或是否为贴牌销售,客服或表示不予回答,或顾左右而言他。


04
陆玖评论
大部分的果酒新品牌都是快钱思维
花果酒新品牌的常见销售思路也不止上述几种,还有靠无糖、低脂、健康概念吸引消费者的,例如对白青春、MOTA;靠各种名字吸引消费者的,像唯一果酒厂的每一个系列都有一个相当“别致”的名字。

陆玖财经认为,凡事都有度。现在靠精美的设计享受高溢价无可厚非,毕竟人们的审美水平在提高,愿意为了美的事物消费。但是现在的趋势越来越本末倒置,更大的研发和成本被投入到外包装,酒体反而趋向于附属品,这样只能短暂的吸引消费者,消耗消费者的信心和耐心,无法创造能长期在市场立足的品牌。
再者,即便是运营能力极强,先通过贴牌闯出了市场,抑或是特别会讲故事,模仿已有品牌还能找到自己的独特定位,在市场打通之后,是否能长期发展依然取决于自身掌握的核心技术、生产工艺、供应链。
知乎上2013年就有人提出过“为什么果酒市场没有老大”这个问题,有一个回答大意是现在成名的白酒厂都只主攻一个方向,做千百年,少说也有几十年,才能做出上品;花果酒种类那么多,每个酒厂都想几年全部覆盖,怎么可能出精品?
2013年的回答,放在今天仍能准确的描述现状,想赚快钱的,必定没有未来。
纵观世界上略有名气的花果酒,也都像知名白酒或其他高度酒一样有自己的酒庄和供应链。比如梅酒品牌俏雅母公司日本蝶矢(CHOYA)梅酒株式会社创建于1914年,自行研制生产和销售梅酒、葡萄酒、果实酒等产品,拥有独特的技术和酿造工艺。
再比如近几年崛起的国产梅酒品牌梅见,集原料种植、工艺研发、酿造、贮藏、物流和销售为一体,有大邑、普宁两大生产基地背书,用自己的生产线严格把控生产流程,才取得了国产梅酒的领先地位。并且凭借杰出的原料挑选和工艺,梅见还生产出了以南高梅为原料、售价598元/瓶的高端果酒,这在国内品牌中是非常罕见的。
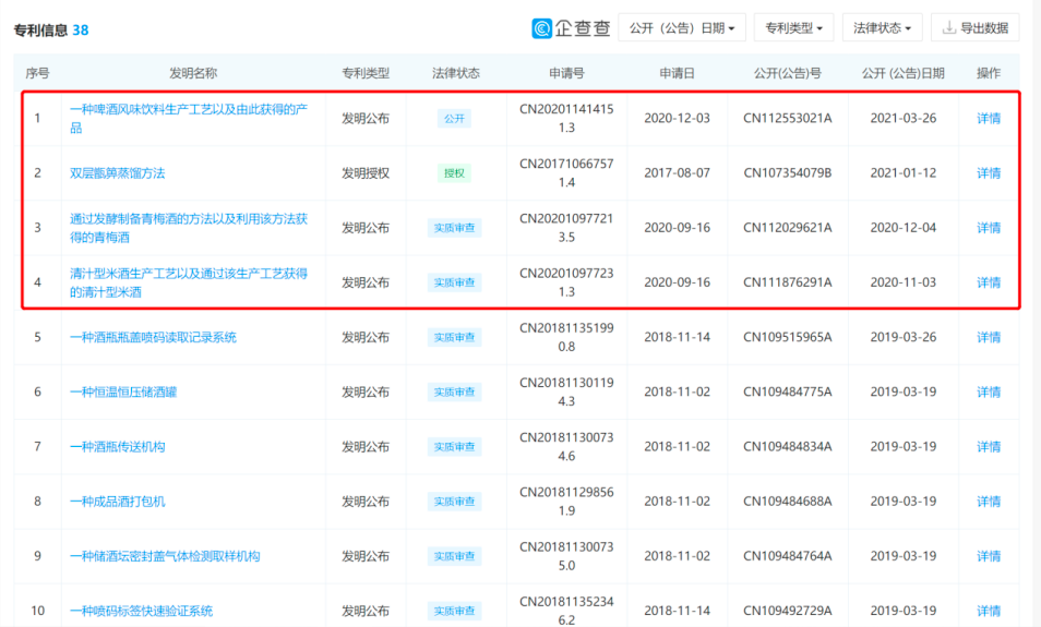
企查查显示,梅见所属的重庆江记酒厂共有38条专利信息,其中不乏酒类酿造方法,足以见得其在生产工艺上的用心。

当被问及如何看待现在竞争者众多的情况,梅见方面的回应是:“我们一贯是竞合观的信奉者,从来不是竞争观的信奉者。不同于互联网行业的挤出效应,消费品行业是巨大的分散的市场,目前的市场集中度并不高。在一个高度离散的市场里,新晋的创业公司所面临的竞争问题,更多是自己跟自己竞争的问题。所以,我们乐于看到更多新朋友进入这个市场,就像餐饮一条街是聚堆,单独一个孤零零的店是孤军奋斗。扎堆的生意好过孤军奋斗,聚堆的生意,更能相互理解。”
正如上述回应,市场巨大且分散,新晋的创业公司不妨慢一点,打好基础,否则打败它们的可能不是竞争对手,而是它们自己。
真相无法揭露,只能接近
作者 : 雨晴 编辑 : 天宇 排版:秋刀鱼
出品|陆玖财经·北京办公室


(声明:本文仅代表作者观点,不代表新浪网立场。)