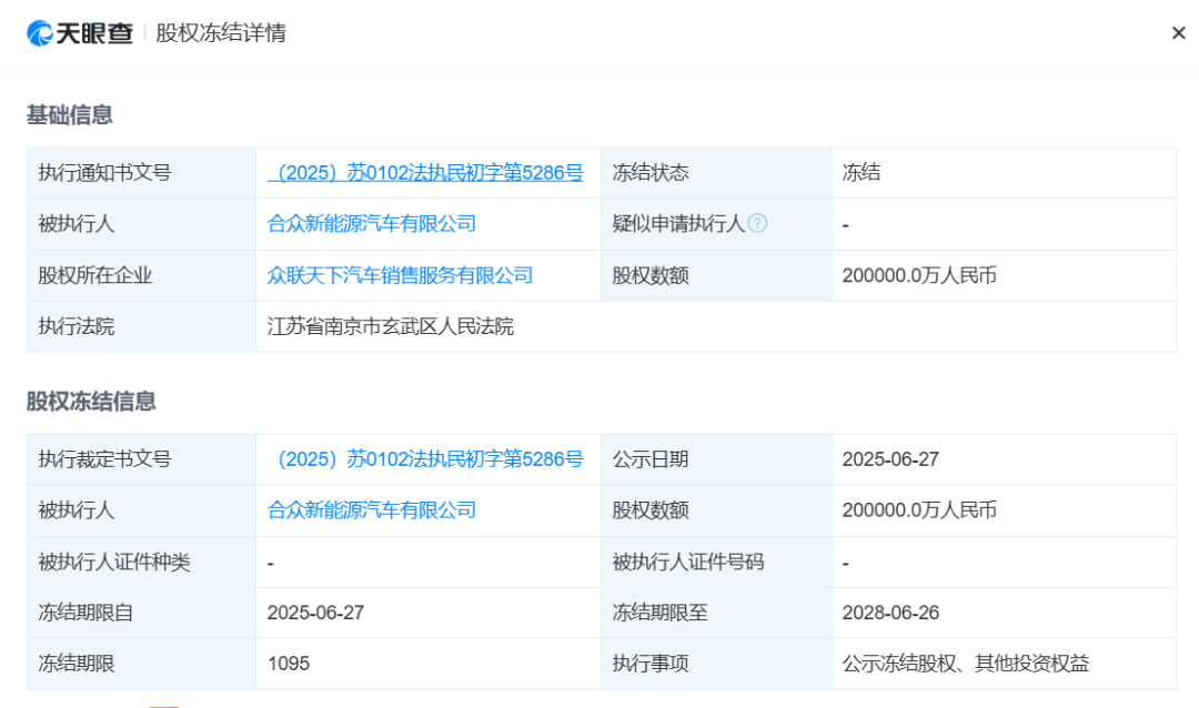
天眼查显示,近日,哪吒汽车关联公司合众新能源汽车有限公司新增一则股权冻结信息,股权所在企业为众联天下汽车销售服务有限公司,冻结股权数额20亿人民币,冻结期限3年,执行法院为江苏省南京市玄武区人民法院。值得一提的是,今年1月,合众新能源汽车有限公司所持众联天下汽车销售服务有限公司20亿人民币股权已被冻结。

众联天下汽车销售服务有限公司成立于2018年6月,法定代表人为方运舟,注册资本20亿人民币,经营范围含汽车新车销售、汽车零配件零售、汽车零配件批发、互联网销售、信息咨询服务、二手车鉴定评估、二手车经纪等,由合众新能源汽车股份有限公司全资持股。
值得一提的是,在本次股权冻结发生后,6月30日,合众新能源管理人发布《合众新能源汽车股份有限公司意向投资人预招募公告》(以下简称“公告”),寻求资金支持及产业资源整合,以期恢复生产。并称,哪吒汽车从2024年11月开始停产,至今8个月,目前产线设备运转正常,仍然保留包括管理团队与核心技术人员在内的400余名员工,具备继续生产经营条件。该公司破产重整一案已于6月12日被法院裁定受理。

根据哪吒汽车所提供的财产状况说明及初步调查结果,截至2025年5月1日,哪吒汽车的资产构成主要包括固定资产、机器设备、知识产权以及应收账款等项目。
其中,固定资产涵盖了位于浙江省桐乡市经济开发区的一块工业用地,该土地面积为350亩。机器设备方面,包括了车间内的生产线集成设备、生产模具及工装、运输工具、实验设备等。知识产权方面,公司拥有自主开发的软件产品以及注册商标“哪吒汽车”等。
对外投资方面,哪吒汽车还有江西宜春和广西南宁两个国内生产基地,以及安徽桐城、凤台、凤阳三个零配件工厂,在海外投资有泰国工厂、印尼工厂,均为CKD模式(全散件模式出口)。
公告中还提到,合众新能源作为首批获得新能源乘用车“双资质”的企业之一,掌握整车技术,公司旗下“哪吒”品牌市场知名度高,累计销量超过46万辆。
港交所网站显示,2024年6月末,合众新能源向港交所递交招股书。招股书显示,2021年至2023年,该公司净亏损分别为48.4亿元、66.66亿元、68.67亿元,三年合计亏损超183亿元。
(转自:都市现场)

VIP课程推荐
APP专享直播
热门推荐
收起24小时滚动播报最新的财经资讯和视频,更多粉丝福利扫描二维码关注(sinafinance)
