目前,三星 Galaxy Z Flip 3 和 Z Fold 3 销量加起来已经超过 700 万,换句话说,三星折叠屏手机占全球市场的 60% 份额。
随着新市场的逐步开拓,三星似乎正准备开发另一种外形的产品线 —— 卷轴屏手机。三星去年已经对此类机型进行了铺垫,现已获得三项新专利,进一步加快新产品的开发。
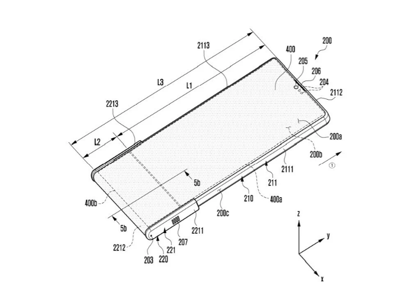
第一个设计显示了一个屏幕似乎可以垂直延伸的产品,专利简介表示这种设计在制造过程中更具成本效益。


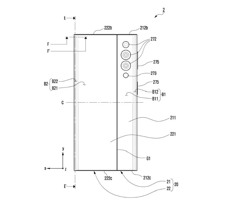
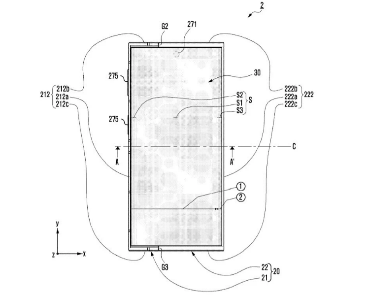
第二项专利展示了一种更常见的横向展开设计,此前 OPPO 等厂商展示的概念机就是这种设计。



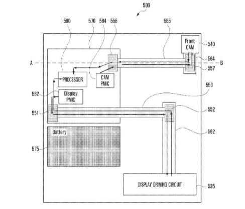
第三项专利采用了水平延伸的显示器,但这一设计的重点是确保手机屏幕与手机的摄像头搭配,以及两者如何协同工作。此外,三星这种设计还采用了简化的方法,以减少功率损耗从而释放内部空间。





IT之家提醒。这只是一种可能的设计,不代表三星最终推动的卷轴屏手机就是这个样子。至于最终真机如何,还请耐心等待官方后续公布。
新浪科技公众号
“掌”握科技鲜闻 (微信搜索techsina或扫描左侧二维码关注)










