华为终于要发新机了,但不是Mate 50系列,而是nova10系列。
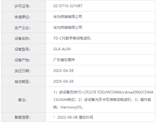
目前,nova10系列两款新机已经通过工信部审核入网,包括nova10标准版(NCO-AL00)、nova10 Pro(GLA-AL100)。
它们都运行鸿蒙操作系统,分别支持66W、100W快充,还增加了新的外观配色。


华为官方已经开始预热nova10系列,预计最快本月底发布。
根据此前曝料,nova10系列和上代nova9系列一样,继续使用骁龙778G 4G平台,重点升级外观设计、影像系统。

新浪科技公众号
“掌”握科技鲜闻 (微信搜索techsina或扫描左侧二维码关注)










