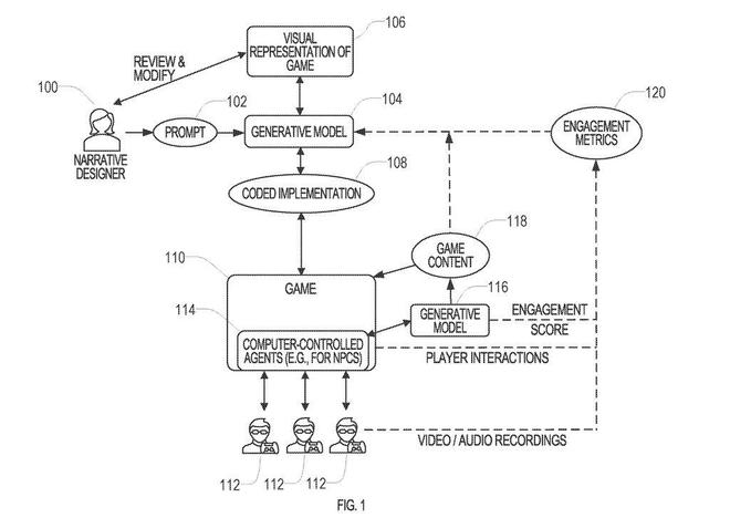
IT之家 1 月 14 日消息,根据美国商标和专利局(USPTO)最新公示的清单,微软获得了一项专利技术,利用生成式人工智能(AI)设计游戏,赋予设计者和玩家通过指令定制游戏体验的能力。


专利概述了 AI 迭代游戏的方式,例如根据指令快速生成与叙事相关的对象。以《我的世界》(Minecraft)为例,玩家可以输入指令,实时创建新的游戏规则、系统、非玩家角色(NPC)或叙事内容。

海量资讯、精准解读,尽在新浪财经APP
VIP课程推荐
加载中...
APP专享直播
热门推荐
收起
新浪财经公众号
24小时滚动播报最新的财经资讯和视频,更多粉丝福利扫描二维码关注(sinafinance)
