来源:中科财经

房企股东质押中原银行股权进行融资,又质押旗下企业从该行获取贷款
日前,记者梳理发现,中原银行的多家房企股东质押其股权融资。企查查官网信息显示,截至目前,中原银行(01216.HK)的有效股权质押记录为83条,合计质押股权数量为31.82亿股。在股权质押列表中,河南盛润控股集团有限公司(以下简称“盛润控股”)、河南省爱克实业发展有限公司(以下简称“爱克实业”)、河南兴达投资有限公司(以下简称“兴达投资”)等中原银行房企股东多次质押其持有该行的股权进行融资,质权人包括四川信托有限公司(以下简称“四川信托”)、厦门国际银行股份有限公司(以下简称“厦门国际银行”)、九江银行(06190.HK)等。
此外,辅仁药业(600781.SH)在半年报中公布了债务逾期情况。其中,中原银行、平顶山银行股份有限公司(以下简称“平顶山银行”)、焦作中旅银行股份有限公司(以下简称“焦作中旅银行”)向辅仁药业发放的借款共计11笔,合计金额为6.19亿元。另外,辅仁药业对上述三家银行已逾期未支付的利息总额为0.87亿元,逾期原因系资金短缺。
房企股东股权质押融资
据中原银行2021年年报显示,当时的前十大股东列表中,河南光彩集团发展有限公司(以下简称“光彩集团”)、兴达投资、郑州康桥房地产开发有限责任公司(以下简称“康桥公司”)、盛润控股、爱克实业合计持股比例为12.65%,上述企业均为河南当地房地产企业。目前,上述五家房企均被法院列为被执行人,除光彩集团外,余下四家房企还被法院列为失信被执行人。
据了解,截至目前,中原银行的有效股权质押记录为83条,合计质押股权数量为31.82亿股。中原银行房企股东不仅质押该行股权向外进行融资,还质押旗下标的企业从该行获取贷款。
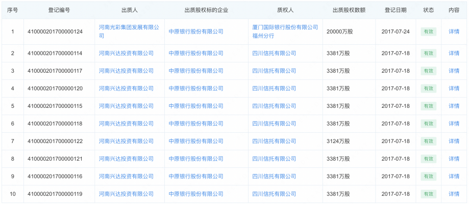
*中原银行房企股东对其股权质押情况,截图自企查查官网企查查官网信息显示,光彩集团将其持有的中原银行2亿股股权向厦门国际银行福州分行进行质押融资。此外,光彩集团还通过质押旗下河南光彩交通建设有限公司、河南光彩新乡高速公路有限公司、河南光彩信阳高速公路有限公司,分别从中原银行、平顶山银行、焦作中旅银行获取融资。爱克实业将其持有的中原银行股权向河南正阳农村商业银行股份有限公司进行质押融资。
盛润控股多次将其持有的中原银行股权向九江银行、恒丰银行股份有限公司进行质押融资。同时,盛润控股还质押旗下河南范县农村商业银行股份有限公司股权从中原银行获得融资。
此外,据中原银行2022年中报显示,盛润控股持有该行1.51%股权,为该行第八大股东。据企业预警通统计数据,盛润控股从中原银行、焦作中旅银行、平顶山银行获批的授信额度合计为9.8亿元。近期,中原银行因债券回购合同纠纷向盛润控股提出诉讼。目前,盛润控股发行的“16盛润债”处于债券违约展期状态,累计违约利息为0.8亿元。
中国企业改革与发展委员会研究员吴刚梁向《中国科技投资》记者表示,房地产公司入股银行,既可以彰显自己的实力,也可试图畅通融资渠道。目前不少房地产公司面临较大的资金压力,而银行股权的评估值比较稳定,且具有较好的流动性,是金融机构青睐的质押品。因此,房地产公司倾向于将其持有的银行股权向金融机构申请质押贷款,当其无法偿还贷款时,其质押的银行股权就会被处置,如转让或拍卖等。中小银行在加强股权管理时,特别要考虑因股权拍卖导致大股东变更的情形。
IPG中国首席经济学家柏文喜亦告诉记者,“房地产作为一个资金密集、高杠杆的行业。房企资本入股银行不仅能与银行建立密切关系,方便自身融资行为;还能够彰显自身实力和获取投资收益。另外,房企对于金融机构的投资形成的股权,也是对外融资时比较受欢迎的抵质押物。上述房企股东的融资质押行为,属于企业经营中的正常需要。目前中原银行的房企股东已出现流动性危机,一方面可能会对中原银行造成坏账、推高不良率、影响中原银行的流动性和盈利能力;另一方面还可能引发股东更迭,由此导致治理结构、战略方向、运营策略,乃至核心管理人员如董事、监事、高级管理人员的调整”。
涉及辅仁药业逾期债务
据辅仁药业2022年半年报信息显示,辅仁药业已逾期未偿还的短期借款总额为20.88亿元,其中中原银行对其发放的已逾期未偿还的贷款1.7亿元。数据显示,中原银行、平顶山银行、焦作中旅银行向辅仁药业发放的借款共有11笔,合计借款金额为6.19亿元。另外,辅仁药业对上述三家银行已逾期未支付的利息总额为0.87亿元,逾期原因为资金短缺。上述借款出现逾期的时间为2019-2021年。
辅仁药业在半年报中亦表示,公司资金流动性紧张,面临债务逾期无法偿还以及对外担保承担连带赔偿的资金压力,同时涉及较多诉讼,部分银行账户及资产被冻结。这些情况表明可能存在导致对公司持续经营能力产生重大疑虑的不确定性。
截至2022年6月末,中原银行、焦作中旅银行、平顶山银行因借款合同纠纷、金融借款合同纠纷、担保诉讼等案由向辅仁药业及其关联子公司提出多起诉讼,合计涉诉金额为5.81亿元。
此外,2017年11月,中原银行认购“中原信托·皇庭国际定向资管投资项目集合资金信托计划”的优先级,认购金额为3.99亿元。该信托计划的到期日为2019年11月2日,该计划延期一年兑付,后续偿还2.09亿元,仍有1.9亿元未偿还。今年2月,中原银行将上述信托受益权进行拍卖转让,起拍价1.9亿元,一拍因无人竞价而流拍。今年6月,中原银行对该笔信托受益权进行第二次拍卖,最终成交价为1.69亿元。
截至2021年末,中原银行的不良贷款总额为84.76亿元。截至今年6月末,中原银行的不良贷款余额为119.28亿元,较上年末增加34.51亿元,不良贷款率为1.82%。其中,公司类不良贷款余额为68.97亿元,较上年末增加5.91亿元。个人不良贷款余额为50.2亿元,较上年末增加28.5亿元,不良贷款率较上年末上升0.91%至2.09%。对此,中原银行表示,“本行公司类不良贷款增加主要是由于吸收合并后的新中原银行集团为主体的公司类贷款总额显著增加。本行个人不良贷款增加主要是部分客户出现经营状况困难,无法保证稳定收入,还款能力减弱”。
值得注意的是,今年4月14日,中原银行曾发布公告称,通过中原资产管理有限公司出售账面价值约259亿元的若干信贷资产及其他金融资产,出售事项于签署资产转让协议时一并完成。次日,河南资产管理有限公司(以下简称“河南资管”)亦发布公告称,合计以154亿元收购洛阳银行股份有限公司、焦作中旅银行剥离的全部不良资产以及平顶山银行剥离的部分不良资产。截至公告出具日,河南资管已完成上述资产转让协议签署以及对应价款支付。
针对中原银行股权质押及逾期借款相关问题,记者致函中原银行,截至发稿,尚未获得回复。

责任编辑:李琳琳
产品入口: 新浪财经APP-股票-免费问股
产品入口: 新浪财经APP-股票-免费问股
产品入口: 新浪财经APP-股票-免费问股
APP专享直播
热门推荐
收起24小时滚动播报最新的财经资讯和视频,更多粉丝福利扫描二维码关注(sinafinance)
