
作者:杨松 鄢子为
图源:威马汽车
威马汽车,迎来复活转机。
9月6日,它和宝能汽车,共同发布一封《致供应商白皮书》,称“正全力推动温州基地恢复量产”,年底前,确保生产超1万辆EX5和E.5车型。
两者关系,一目了然。
此次施以援手的主体,是深圳翔飞汽车,与宝能关系匪浅。其准备首期投资10亿元,用于升级工厂设备、恢复供应链和开发产品。

“到2026年,量产10万辆,预计收入近百亿元。”深圳翔飞喊话,到2030年,产量挑战100万台,营收1200亿元。
“温州工厂正在招人。”负责供应链的员工告诉《21CBR》记者,暂不清楚生产运营情况,但威马前员工可以去应聘。
1
宝能身影
威马四家核心公司,威马上海、威马汽车科技集团、苏州威马智慧出行和温州制造基地,已由深圳翔飞接管。
其它子公司,未纳入本次重整范围。公告提示,“可单独追偿”。
公告披露,新威马汽车的复工复产,得到上海、温州市政府的支持;在符合政策的前提下,温州市政府考虑,优先将威马汽车纳入本地公共采购。

深圳翔飞还表示,正与当地金融机构沟通,以股东的优质资产作为增信开展融资。
重整威马的这位新股东,与宝能汽车关系密切,股权和人员多有重叠,彼此已成一个联盟。
深圳翔飞成立于2023年9月,实缴资本1亿元,两大股东为深圳卓凯和深圳凤宇。这两家公司,也是深圳悠宝利新能源汽车的股东。

悠宝利,是宝能掌舵者姚振华的一颗重要棋子。
他曾为悠宝利A3车型站台,带领管理层亲临新车展示现场,与广东区域经销商交流,“就A3产品宣传计划、渠道策略、竞争策略等进行深入探讨”。
宝能汽车、宝能控股,也是深圳悠宝利的大股东。

值得注意的是,宝能汽车多次被列入失信被执行人,其昆明宝能、贵州宝能、西安宝能等子公司,8月以来,密集发布债权申报公告。“因债权人较多,请大家有序申报。”宝能汽车称。
人员方面,翔飞汽车的法人及实际控制人为黄晶,同时是昆山宝能汽车的实控人。
“过去几年,宝能系运作的几家汽车公司情况不好,翔飞汽车实际上没有‘本系产品’可卖。威马汽车缺资本和销售渠道,双方各有补充,各有劣势。”
工信部信息通信经济专家委员会委员盘和林告诉记者,两方是抱团取暖。
2
债务待解
重启生产之前,新威马先要解决债务问题。
白皮书表示,威马四家重整公司的普通债权,15万元及以下的,那债权人6个月内,可以获得全额现金清偿。
欠款多的,也可拿回15万元现金,剩余部分纳入信托,待机构将纳入的资产变现之后,再按比例清偿。

“普通债权是指没有担保等优先权的一般债权,不包含员工欠薪。”北京策略律师事务所张华耀律师告诉记者,员工欠薪应优先于普通债权受偿。
值得注意的是,公告并未提及员工欠薪问题如何解决。
此前,法院详细披露三批威马四家公司的职工欠薪数据,据《21CBR》记者统计,其共拖欠658位职员的工资,累计金额约为4857万元。
其欠供应商的钱更多。
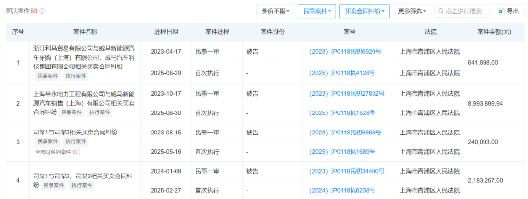
天眼查显示,威马汽车科技有83起买卖纠纷,单拖欠伟巴斯特车顶供暖系统的款项,就高达421万元。

按照清偿规则,伟巴斯特这类供应商只能拿回一小部分。
“威马汽车停产原因,是高负债,在供应商那里,信誉已经破产。”盘和林表示,其重启关键,在于获得供应商信任。
公告称,供应链团队已联系215家历史供应商。“绝大多数供应商已表态愿意与新威马共同发展,极少数供应商的历史遗留问题在解决中。”

为尽快恢复元气,翔飞汽车推出激进复产计划:参与首阶段400辆试产的供应商,可优先参与四季度2万台批量生产。
公告披露多张温州工厂图片,从俯瞰图来看,偌大的厂区,仅停几辆车。
3
回到原点
温州工厂,是威马汽车起家的地方,早在2018年9月,其就量产了第一款车型EX5。彼时,新能源汽车市场渗透率,不足4%。
7年时间过去,新威马选择从这里起步,生产车型EX5和E.5。
这两款老车型,面对激烈竞争。2025年,新能源汽车渗透率超过50%,前8个月同比增速仅有25%。

对于有爆雷经历的品牌,用户格外警惕。威马汽车官网也尚未恢复,品牌专修店早就关门,用户需要自己解决维修问题。
“App用不了,车机没网。”
一位威马前员工向《21CBR》记者表示,自己仍开着威马车,好在车辆质量过硬,没出问题。
黄河科技学院客座教授张翔认为,在国内市场,生产老产品,销路堪忧,新威马可能会重点考虑海外市场。
白皮书提到出海计划,公司将布局泰国KD工厂,开拓东南亚及中东市场。
“中国新能源汽车市场,经过几轮洗牌,门槛高。”在张翔看来,新威马既缺资金投入,也缺擅长营销的高管。

新公司已抓紧招人。
猎聘网显示,翔飞新能源汽车在招岗位83个,涵盖设备工程师、品牌总监、人力资源总监等。其计划招聘超400人。
新威马对前景充满信心。按照规划,2027年到2028年,年销量将达到25万~40万台,启动IPO筹备。
理想虽好,对团队来说,今年仅剩不足四个月,要配齐供应商并达成1万辆产能,已属不易。

VIP课程推荐
APP专享直播
热门推荐
收起24小时滚动播报最新的财经资讯和视频,更多粉丝福利扫描二维码关注(sinafinance)
