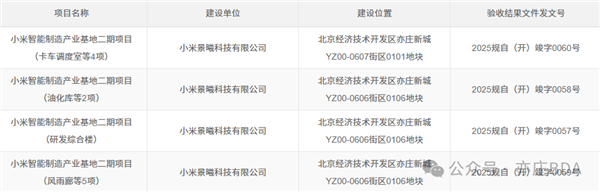
快科技9月17日消息,据亦庄BDA公众号,近日,小米汽车二期研发综合楼、卡车调度室、油化库等规划验收通过。
据悉,小米汽车二期工厂项目位于北京亦庄新城YZ00-0606街区0106地块,与一期工厂仅隔一条马路。
小米在2024年以8.42亿元人民币拿下该地块,面积为531130平方米,建筑控制规模≤690469平方米,出让总年限为50年。
整个二期工厂项目总建筑面积约40万平方米,涵盖地上39.15万平方米以及地下8503.33平方米。

据媒体在今年6月报道,二期工厂主要生产小米YU7车型,厂房和办公楼已建设完成,目前处于三班倒的赶工状态。
值得一提的是,原本小米汽车计划目标是2025全年交付30万台,今年3月,雷军称将2025年全年交付目标提升至35万台。
他表示,小米汽车一直在全力提升产能,已经取得一些进展,“2025年全年交付目标提升至35万台”。

【本文结束】如需转载请务必注明出处:快科技
责任编辑:秋白
新浪科技公众号
“掌”握科技鲜闻 (微信搜索techsina或扫描左侧二维码关注)










