运营商财经网 实习生周颖/文
在休闲零食行业普遍疲软的当下,盐津铺子的业绩格外亮眼。2024年,盐津铺子实现营业收入和净利润双双增长,公司高管的薪酬也上涨了不少,其中,副总经理兰波的薪酬引起关注。

兰波出生于1983年,大专学历,这一学历背景在盐津铺子高管队伍中颇为显眼,是副总经理队伍中唯一的专科学历,其他几位均为硕士学历,且不知兰波的大专学历是否全日制学历,以及毕业于什么学校?
值得一提的是,副总经理张磊是中山大学岭南学院EMBA,李汉明为深圳大学管理学院MBA,但这些也不是全日制学历,而是在职学历,不知道他们的第一学历是什么。
盐津铺子2024年年报显示,公司实现营业收入53.04亿元,同比增长28.89%,归母净利润达6.4亿元,较上年同期增长26.53%。
在业绩上涨的同时,公司高管薪酬有所上涨,其中兰波薪酬为160.3万元,相较于2023年的115.2万元,上涨了45.1万元,而董事长张学武薪酬为142.1万元,兰波的薪酬连续四年超过董事长。
从兰波的任职履历来看,他是从盐津铺子一路成长起来的,从2004年长沙销售主管一路升到湖南省省区经理,2019年任盐津铺子食品股份有限公司董事、副总经理。
值得注意的是,公司业绩虽然不俗,但盐津铺子的实控人、高管成员近来多次减持套现。
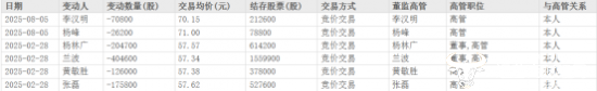
8月5日,公司发公告披露,股东张学文于通过集中竞价交易方式减持公司股份55.02万股,占公司总股本的0.20%,套现金额约3885万元。
也在这一天,副总经理李汉明和财务总监杨峰合计减持9.7万股,合计套现682.68万元。而今年年初,副总经理兰波、杨林广、黄敏胜、张磊已累计减持超91万股,套现超5200万元。

盐津铺子后续发展方向如何,运营商财经网将持续关注。
(责任编辑:康玲华)
“掌”握科技鲜闻 (微信搜索techsina或扫描左侧二维码关注)










