iMobile爱科技8月5日讯——苹果最新公布了一项屏幕专利,可通过内置传感器追踪用户位置,动态调整屏幕曲率,实现工作与娱乐场景的智能适配。这一专利由四位发明人共同研发,包括曾参与2019款Mac Pro设计的Danny L. McBroom。

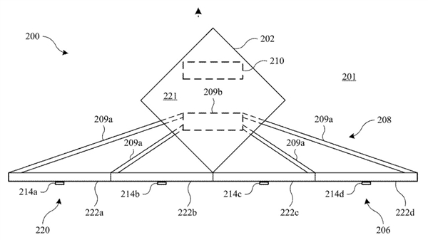
其核心功能为:根据用户距离、视角及使用场景自动调节形态,即办公时呈纯平或微弯状态,保证内容清晰;远距玩游戏、看视频时则变为曲面屏,提升沉浸感。
此外,屏幕的形态还能随不同的应用进行切换,比如从Apple TV+切换到微软Word时,自动从曲面转为直屏。最后,专利还提及 “展开” 与 “收纳” 两种模式,展开提供宽阔视野,收纳时弯曲缩小体积却不影响显示。
视频截图开始录制
新浪科技公众号
“掌”握科技鲜闻 (微信搜索techsina或扫描左侧二维码关注)










