红星资本局7月16日消息,7月15日晚间,启迪药业集团股份有限公司(下称“启迪药业”,000590.SZ)发布公告称,公司控股股东启迪科技服务有限公司(下称“启迪科服”)持有的公司5860.7万股股票在京东网司法拍卖平台拍卖成交。

湖南赛乐仙管理咨询服务合伙企业(有限合伙)(下称“湖南赛乐仙”)以10.07亿元的价格,成功竞得启迪科服所持的启迪药业24.47%股权,这意味着启迪药业的控股股东及实际控制人有望迎来变更。
红星资本局注意到,湖南赛乐仙与湖南恒昌医药集团股份有限公司(下称:恒昌医药)大股东均为上海赛乐仙企业管理咨询有限公司(下称“上海赛乐仙”)。今年3月份,启迪药业与恒昌医药刚刚闹过“矛盾”,启迪药业控诉恒昌医药冒用其商标,并已启动司法程序。
启迪药业原为衡阳国资旗下的衡阳中药厂,其主营产品古汉养生精曾获评中国驰名商标。上市以来,衡阳国资引入清华系资本作为战略投资人,意图将品牌做大做强,但从结果看,双方合作不及预期,最后甚至内部不和公开化。
启迪药业控制权或生变
买家成立不足1个月
启迪药业公告称,上述被拍下的5860.7万股股份,占公司总股本的24.47%,目前该部分股份尚未完成过户,若完成过户,公司控制权可能发生变更。
红星资本局注意到,湖南赛乐仙共经历多次出价,最终以10.07亿元的价款拍下这5860.7万股股份,约合每股17.2元,远高于7月15日的收盘价13.86元。
然而,湖南赛乐仙今年6月19日才成立,由上海赛乐仙、长沙国资分别持股75%、25%。值得注意的是,上海赛乐仙另持有恒昌医药60%的股份及上市康惠制药(603139.SH)4%的股份。
图据天眼查资料显示,恒昌医药是一家专注服务中小型连锁药店、单体药店及基层医疗卫生机构的医药企业,2015年成立于长沙,现为湖南省生物医药产业重点企业。截至2023年底,恒昌医药服务会员药店、诊所超20万家。
此前,恒昌医药计划登陆深交所,但在历经三次问询后,最终选择于2024年7月主动撤销了申请。同年10月,因恒昌医药股东上海赛乐仙入股康惠制药,外界还传出恒昌医药要“借壳”康惠制药。
7月16日,红星资本局联系恒昌医药,希望了解本次高溢价收购启迪药业的考量。工作人员称公司公关会对此有回复。不过截至发稿,红星资本局未收到回复。
值得注意的是,本次收购前,恒昌医药也与启迪药业有过交集。今年3月,启迪药业控诉恒昌医药擅自在其产品包装、宣传物料中使用启迪药业所有的“古汉”注册商标标识,及古汉中药有限公司的“中华老字号”标识。并称恒昌医药的行为已构成对公司知识产权的严重侵害,违背商业诚信原则,保留追究其全部法律责任的权利。今年5月,长沙开福区法院正式受理启迪药业对恒昌医药的起诉。
红星资本局联系启迪药业询问本案的进展及影响。接线工作人员称不了解案件的具体动向,不过确定的是,无论案件是何进展,都不会对此次控制权的交接产生影响。
大股东深陷诉讼纠纷
与二股东矛盾渐显
本次股权拍卖,源于启迪药业大股东启迪科服与农行北京自贸区分行存金融借款合同纠纷。此前,启迪科服将上述5860.7万股股份质押给该分行,后期因未能履行贷款偿还义务,北京金融法院对该批股份启动强制执行程序。
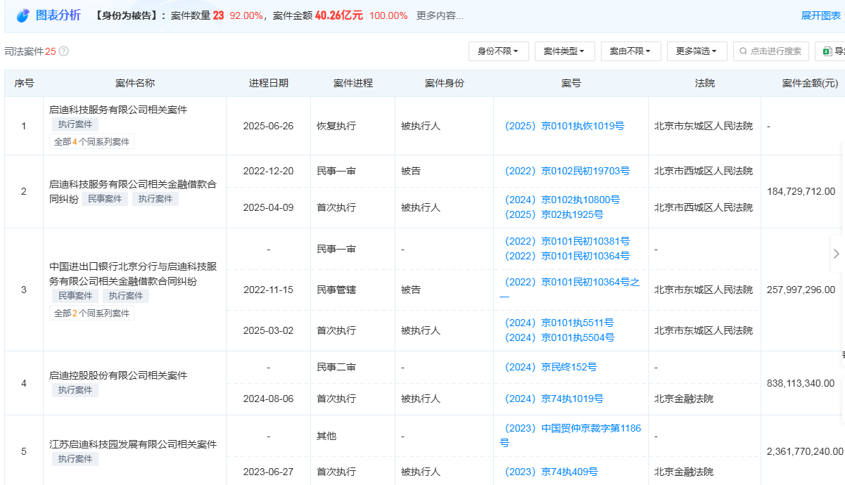
天眼查显示,启迪科服目前已经深陷各种司法诉讼中,牵涉至少20多起司法案件,其中约50%为金融借款合同纠纷,债权人包括中国进出口银行、招商银行、中信信托等金融机构。目前启迪科服已经被限制高消费。
图据天眼查启迪药业隶属于衡阳国资旗下公司,目前衡阳国资为其第二大股东。为了湖南古汉集团的发展,衡阳国资2015年引入清华系资本启迪科服作为战略投资人,2020年公司正式更名为启迪药业。
一份2015年的合作协议显示,衡阳市政府与启迪科服共同利用各自资源优势,让古汉品牌走向全国。衡阳政府给予启迪科服税收、土地、人才、资金方面的支持,启迪科服要保证启迪药业的注册地、纳税地、总部及主要生产基地位于衡阳不变,同时确保2016年起,连续5年在衡阳实缴税金在6700万元的基础上逐年递增10%以上。
然而,后期合作的运行并不乐观,财务数据显示,自2016年起,启迪药业的实际缴税额再未超过5500万元,且近几年呈现递减趋势,至2024年实际缴税额为3635.62万元。公司业绩近年来也明显承压,2024年公司营收3.43亿元,同比下滑15.18%,归母净利润报亏1.3亿元,为上市以来首次亏损。今年一季度,公司营收6522.03万元,同比下降15.4%,归母净利润再度亏损1625.62万元。
与此同时,启迪科服与衡阳股东的矛盾也开始摆上台面。去年1月,启迪药业董事会上审议收购武汉名实药业55%股权议案,该方案遭到3名来自衡阳国资派董事的反对。今年6月,启迪药业发布的多项股东大会决议公告中,众多决议的股东反对比例接近40%,有投资者在互动平台询问是否是衡阳国资投了反对票,但启迪药业未对此予以置评。
红星新闻记者俞瑶 实习记者 刘艳爽
编辑 肖世清
“掌”握科技鲜闻 (微信搜索techsina或扫描左侧二维码关注)










