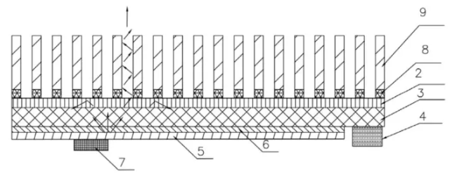
01发明名称:Superlattice layer, LED epitaxial structure, display device, and method for manufacturing LED epitaxial structure
授权公告号:US12057521B2
专利权人:重庆康佳光电科技有限公司
授权类型:美国发明
授权日:2024-08-06

专利摘要:
This disclosure relates to a superlattice structure, an LED epitaxial structure, a display device, and a method for manufacturing the LED epitaxial structure. The superlattice structure includes at least two superlattice units which are grown in stacking layers. Each of the at least two superlattice units includes a first n-type GaN layer, a second n-type GaN layer, a first n-type GaInN layer, and a second n-type GaInN layer which are grown in stacking layers. The first n-type GaN layer has a doping concentration which is constant along a growth direction, the second n-type GaN layer has a doping concentration which gradually increases along the growth direction, the first n-type GaInN layer has a doping concentration which gradually decreases along the growth direction, and the second n-type GaInN layer has a doping concentration which is constant along the growth direction。

解决的技术问题:现有的蓝光LED外延结构面临着蓝宝石衬底与LED外延层之间严重的晶格失配问题,导致多量子阱区域中出现应变诱导位错和V形缺陷,从而影响发光特性。
技术创新点:通过引入了超晶格层,该超晶格层由具有特定掺杂浓度和 n 型 GaN 和 GaInN 层厚度的多个单元组成,在堆叠层中生长以减少应变和位错,并开发了包含该超晶格层以及其他层的 LED 外延结构 以增强发光性能。
技术效果:提高LED的发光性能。
该专利可应用到的产品:Micro LED外延、Micro-LED芯片以及应用该Micro-LED芯片的显示类产品。
02 发明名称:转移装置及其制作方法、检测方法及检测装置
授权公告号:CN115452714B
专利权人:重庆康佳光电科技有限公司
授权类型:中国发明
授权日:2025-04-15

专利摘要:
本申请公开了一种转移装置及其制作方法、检测方法及检测装置,转移装置包括转移头,转移头的凸起上形成有胶体晶体层,基于胶体晶体微球结构的布拉格反射作用可以呈现不同光颜色的特性,根据各凸起上的胶体晶体层反射出的光确定凸起是否异常,从而可实现转移头上是否出现异常凸起的检测。

解决的技术问题:因凸起式转移头在循环往复受热受压力过程中容易发生不可恢复的形变或受损缺失,导致凸起的平整性变化,无法有效检测并避免异常凸起导致的芯片转移失败或不合格。
技术创新点:通过在转移头的凸起上形成胶体晶体层,该胶体晶体层包括有序排列的胶体晶体微球,利用胶体晶体微球结构的布拉格反射作用,通过光的反射特性来检测凸起是否异常。
技术效果:实现了对凸起式转移头上是否出现异常凸起的有效检测,避免了异常凸起导致的芯片转移失败或不合格的情况,提高了转移过程的可靠性和良品率。
该专利可应用到的产品:Micro LED显示类产品。
03 发明名称:一种LED阵列扩张检测装置及扩张方法
授权公告号:CN113496907B
专利权人:重庆康佳光电科技有限公司
授权类型:中国发明
授权日:2025-02-18
专利摘要:
本发明公开了一种LED阵列检测装置,其包括:承载膜,呈阵列排布的LED芯片粘附于所述承载膜上;拉伸设备,设置于所述承载膜的边缘,用于拉伸所述承载膜;金属薄片设置于LED阵列中同一行或列相邻的LED芯片侧面,相邻所述LED芯片相对应的侧面设置的两片所述金属薄片为一对;电压施加器,用于向相邻金属薄片施加电压;电容检测单元,分别连接成对的金属薄片,用于检测相邻金属薄片间的电容值;控制器,与所述电容检测器电连接,用于根据所述电容值计算对应LED芯片间距,LED芯片间距达到阈值时向拉伸设备发出拉伸或停止拉伸的信号。该装置可以准确测量LED芯片之间的间距。

解决的技术问题:在Micro-LED显示器的制作过程中,如何快速、准确地调整LED芯片的间距以适应不同尺寸的显示背板,尤其是在LED芯片尺寸越来越小的情况下,转移难度显著增加。
技术创新点:通过在LED芯片之间设置金属薄片,并利用电容检测单元实时检测电容值,计算LED芯片间距,当达到阈值时停止拉伸,实现准确的间距调整。
技术效果:实现了对LED芯片间距的精确检测和调整,简化了过程,提高了效率,特别是在LED芯片尺寸小的情况下,能够准确得到扩晶后的LED芯片间距。
该专利可应用到的产品:Micro-LED芯片以及应用该Micro-LED芯片的显示类产品。
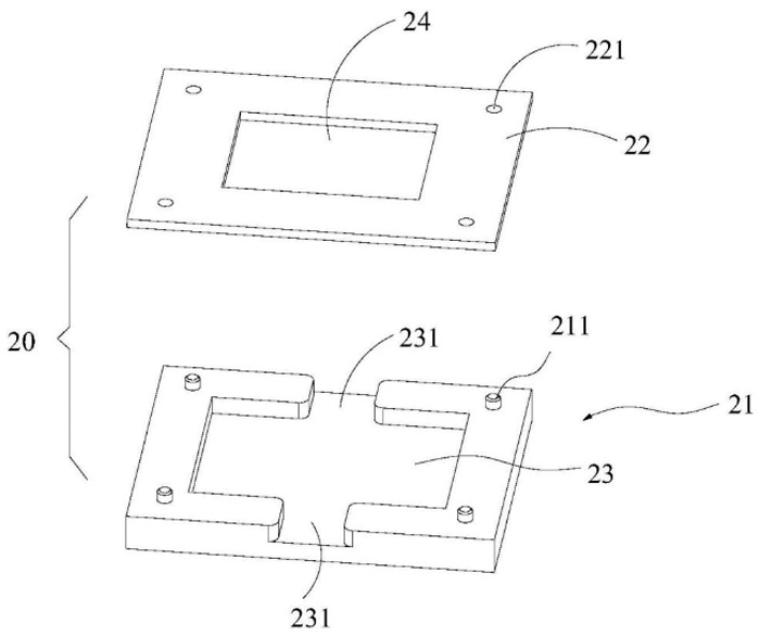
04 发明名称:用于封装LED结构的封装治具及封装方法
授权公告号:CN114038763B
专利权人:重庆康佳光电科技有限公司
授权类型:中国发明
授权日:2025-02-18

专利摘要:
本发明提供了一种用于封装LED结构的封装治具,包括注胶定位治具,该注胶定位治具包括基座和盖板,基座开设有用于收容固定基板的凹槽,盖板盖设于基座时,密封覆盖基板的外围部,盖板开设有通孔,用于使得置晶区及LED阵列外露于盖板,并用于在对LED结构注入封装胶时,供封装胶从通孔注入而覆盖LED芯片阵列以及置晶区,其中,通过盖板密封覆盖基板的外围部,封装胶从通孔注入时,仅覆盖LED芯片阵列以及置晶区。通过使用注胶定位治具,使得封装胶仅覆盖于基板的置晶区,从而,在对基板的除置晶区之外的区域切割或研磨时,无需切割或研磨胶层而仅切割或研磨基板,避免了封装胶与基板的置晶区分离的问题。

解决的技术问题:现有Micro-LED产品在封胶基板切割和研磨过程中存在胶层与基板分离、切割精度错位及基板强度降低的问题。
技术创新点:通过设计用于封装LED结构的封装治具,利用注胶定位治具对封胶区域进行内缩,使封装胶仅覆盖置晶区,避免胶层与基板分离,并通过切割定位治具和研磨定位治具快速定位和处理基板的外围部。
技术效果:实现了在封装LED结构时无需切割或研磨胶层即可切割或研磨基板,避免了封装胶与基板置晶区分离的问题,提高了切割和研磨的精度和效率。
该专利可应用到的产品:Micro LED芯片。
“掌”握科技鲜闻 (微信搜索techsina或扫描左侧二维码关注)










