快科技5月20日消息,按照官方公布的情况,本周四小米自研芯片就要正式跟大家见面,而尴尬的是有人提前抢注了相关商标。
据国内媒体报道称,国家知识产权局中国商标网显示,“小米芯片”于今年2月被自然人羊某申请注册商标,国际分类为医药,目前该商标申请已被驳回。
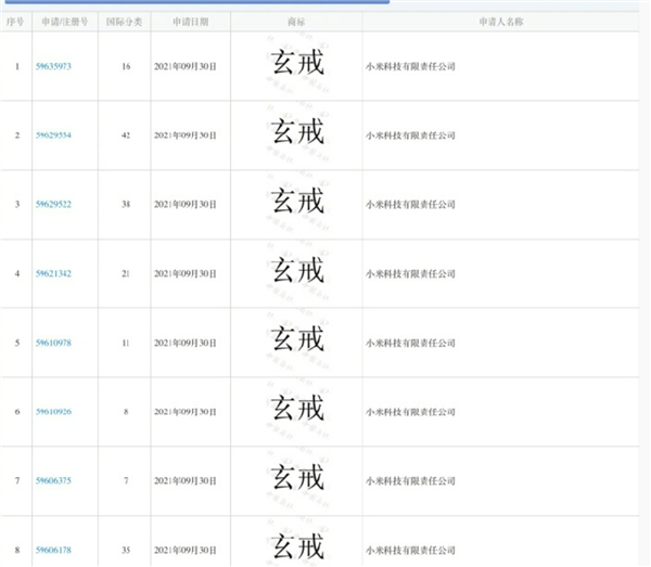
如果仔细看的话,从2021年9月30日小米就已为玄戒申请注册商标。
这个时间点也基本符合雷军之前说的,小米2021年决定造车的同时,也有另外一个重大决策,那就是重启‘大芯片’业务,重新开始研发手机SoC。
雷军称,四年多时间,截止今年4月底,玄戒累计研发投入已经超过了135亿人民币。目前,研发团队已经超过了2500人,今年预计的研发投入将超过60亿元。
“这个体量在目前国内半导体设计领域,无论是研发投入,还是团队规模,都排在行业前三。“如果没有巨大的决心和勇气,如果没有足够的研发投入和技术实力,玄戒走不到今天。”
今天雷军还宣布,自研3nm芯片已经大规模量产,而小米15S Pro和小米平板会先使用。


【本文结束】如需转载请务必注明出处:快科技
责任编辑:雪花
新浪科技公众号
“掌”握科技鲜闻 (微信搜索techsina或扫描左侧二维码关注)










