快科技4月14日消息,哪吒汽车近期的财务危机引发了广泛关注。
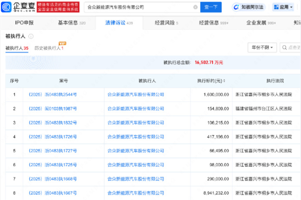
据企查查APP显示,哪吒汽车关联公司合众新能源汽车股份有限公司名下有多起被执行人信息和限制高消费信息,被执行总金额超1.6亿元,还涉及超80条股权冻结信息。


公司法定代表人方运舟,目前仍担任总经理职务。
从经营状况来看,哪吒汽车自2024年起销量大幅下滑,2025年一季度仅交付487辆,同比暴跌98%。
截至2023年,公司三年累计亏损超180亿元,总负债接近百亿元,其中大部分为供应商欠款,资金链断裂导致部分工厂停摆,员工工资、供应商货款及经销商返利被长期拖欠。

除了资金断裂之外,战略失误也是哪吒汽车陷入困境的重要原因。
早期,哪吒汽车凭借哪吒U、V系列的性价比优势成为新势力销冠,但随后推出的高端车型哪吒S、GT因品牌定位混乱,难以在市场中站稳脚跟。
研发投入不足和对第三方技术的过度依赖,削弱了其核心竞争力。
面对危机,哪吒汽车试图通过与134家核心供应商达成超20亿元债转股协议,以及获得泰国金融机构21.5亿元授信来解决资金问题。
然而,这些措施的成效尚未显现,哪吒汽车的未来仍充满不确定性。

【本文结束】如需转载请务必注明出处:快科技
责任编辑:王略
新浪科技公众号
“掌”握科技鲜闻 (微信搜索techsina或扫描左侧二维码关注)










