运营商财经网 赵鑫雨/文
日前,北交所更新了上个月关于对会员及其他交易参与人采取监管措施的情况公示。其中,东北证券及相关人员再次因未勤勉尽责被口头警示,引发关注。

据3月14日北交所更新的相关信息显示,东北证券的违规是由为“未勤勉尽责”,被采取口头警示、要求提交书面承诺的监管措施,处罚日期是在2月18日。
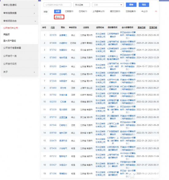
此前,东北证券在1月24日就曾因未勤勉尽责被北交所口头警示。仅仅时隔一个月,东北证券就因同样原因收到北交所的第二次口头警示。另外,通过在北交所内搜索发现,东北证券目前公开发行并上市的保荐项目共计19条,其中有8个项目的审核状态为终止。

除此之外,自2025年开年以来,东北证券可谓风波不断。在1月27日,东北证券就曾因在交易及相关系统管理、客户交易行为管理、融资融券业务管理、适当性管理方面存在问题,被上交所书面警示。后在2月22日,东北证券控股子公司的全资孙公司渤海融幸因涉嫌操纵期货合约被罚没约2040万元事件,再次将东北证券推至舆论风口。
值得一提的是,东北证券成立于1988年,前身为吉林省证券公司。据天眼查显示,东北证券的大股东是持有30.81%股份的吉林亚泰(集团)股份有限公司,其属于地方国资控股企业。但在2024年3月,东北证券发布关于第一大股东签署股权转让意向协议的公告,亚泰集团拟出售持有的29.81%的股份,其中,20.81%的股份拟出售给长发集团,9%的股份拟出售给长春市金控。但目前,仍无相关股份转让进度的公告。
东北证券现任总裁是何俊岩,不知他对公司上述情况怎么看?
]article_adlist-->
新浪科技公众号
“掌”握科技鲜闻 (微信搜索techsina或扫描左侧二维码关注)










