图片来源:葵花药业官网蓝鲸新闻2月21日讯(记者 屠俊)“智力糖浆治疗多动症、孤独症?感觉信这个的需要治疗一下智力。”
“今天去医院,医生给娃开了这个药,喊我去外面药店买,同时跟我说,‘喝了记得给他点心理暗示……’让我觉得这个应该是安慰剂。”
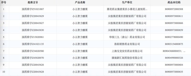
近日,一款中成药“小儿智力糖浆”引发关注,根据国家药品监督管理局网站,目前“小儿智力糖浆”目前共有10个批准文号,包括:葵花药业集团重庆小葵花儿童制药有限公司,太极集团重庆涪陵制药厂有限公司,华润三九(唐山)药业有限公司等。
作为处方药,“小儿智力糖浆”对于改善智力的临床依据是什么?近日,蓝鲸财经试图联系葵花药业、太极集团等公司,但并未得到明确回复。
多久见效、有多少临床依据支撑成疑
根据国家药品监督管理局网站信息,小儿智力糖浆共有10个批准文号,涉及6个厂家,其中太极集团重庆涪陵制药厂有限公司一家企业拥有5个批准文号,其他5个生产厂家分别为华润三九(唐山)药业有限公司、葵花药业集团重庆小葵花儿童制药有限公司、湖南新汇制药股份有限公司、上海宝龙安庆药业有限公司、洛阳顺势药业有限公司。
图片来源:国家药品监督管理局官网蓝鲸财经发现虽然是由不同厂家生产,不过成分都一样,包括:龟甲、龙骨、远志、石菖蒲、雄鸡,准备文号都是“国药准字Z”,代表中成药。
对于小儿智力糖浆是否能提高孩子的智力,蓝鲸财经拨打了葵花药业售后服务热线,对方表示该款药物确实能提高小孩智力,原理是其中的石菖蒲可以对中枢神经系统神经递质起到调节作用;远志,有活血化瘀的功效,改善脑部血液循环;还有龟甲,能起到镇静安神的作用。此外其表示该款药做过临床试验,不过当问及具体试验内容及结果时其表示,问题超纲了。
而对于孩子需要吃多久才能见效,上述工作人员也并未给出明确的回复,药品说明书中也未明确写明。
有三甲中医医院医生向蓝鲸财经表示,加强记忆力也好、促进智力发展也好,孩子发育的过程,是一个整体的过程,不是让几味药能够解决的。此外,中医和西医是两个体系,西医讲究循证医学,对症下药。
蓝鲸财经也拨打了太极集团投资者热线等相关电话,对方并未给予明确回复。
公开资料显示,龟甲、龙骨、远志、石菖蒲、雄鸡其组方源自《千金方》中的“孔圣枕中丹”,被赋予“调补心肾”“安神益智”等功效。
1982年,上海中医学院附属龙华医院瞿秀华主任医师,在临床实践中,参考“孔圣枕中丹”为主方,并添加雄鸡汁一味,制成了“小儿智力糖浆”。瞿秀华在题为《中药智力糖浆治疗100例小儿轻微脑功能障碍综合征》的论文中指出,研究者选取了100名儿童进行试验,声称有70名“在服药24小时及72小时后症状明显改善,上课专心听讲、不再做小动作,服药期间测验成绩优良”,据此认为该药品对MBD儿童有效,这也是1993年版药品标准将MBD写入适应症的主要依据。
但作者在该论文中也承认,“智力糖浆能否增加神经递质数量,增强自制能力,有待进一步研究”,“MBD儿童在服药期间,要注意对他加强个别教育,不能单靠服药。”
文章中提到的“轻微脑功能障碍综合征(Minimal Brain Dysfunction,MBD)”是注意缺陷多动障碍(ADHD)成为正式的诊断名称之前,对多动、冲动、注意力不集中、学习困难等情形的统称。
事实上,在社交平台上大家对于小儿智力糖浆的褒贬不一,有医生推荐其作为多动症的常用药,不过蓝鲸财经咨询的多家上海儿童医院的医生,均表示对此款药物并不了解,有医生表示,使用不多也和这款药物并未纳入医保有关。
不过,虽然这款药品未进入国家医保目录,但曾进入部分地方医保目录。2020年,国家医保局要求三年内各地清退多余药品,仅执行国家医保目录,并设置了三年过渡期,小儿智力糖浆由此退出医保内市场。
临床数据方面,事实上,目前拥有批准文号的企业官网中几乎没有公开的小儿智力糖浆的临床数据信息,是否有做过大规模人群的临床试验遭质疑。
而对于中成药是否需要做临床试验?北京德和衡(上海)律师事务所联席合伙人 天牧生命科学法律团队联合创始人桂辛律师向蓝鲸财经表示,总体来说,大部分中药是需要严格按照法律法规进行临床试验的,但部分中药国家也开设了“绿色通道”。依据《中药注册管理专门规定》部分特定条件下急需的中药,可不开展临床试验申请上市。
依据《古代经典名方中药复方制剂简化注册审批管理规定》,对于符合其规定的经典名方制剂,可不开展临床研究申请上市。另外就港澳已上市传统口服中成药,依据《国家药监局关于简化港澳已上市传统口服中成药内地上市注册审批的公告(2025年第7号)》,可在内地免临床试验申请上市。
“免临床试验虽然为药企节省了大量时间和金钱,但需要提供众多支持材料,且药品的上市申请是否能够获批,是由国家药监局做最终审核,从实操层面来说,也并不是一条轻而易举的路。”桂辛律师指出。
5000万市场规模,葵花药业占七成
电商平台上一盒小儿智力糖浆的价格在30-40元左右,内含10支,每支10ml,一日三次,一次10-15ml。以此计算,患儿月花费约在270-540元区间。
数据显示,小儿智力糖浆约有70%是通过城市公立医院进行销售的,其次是城市药店,占比约为10%。其中该药品的头部生产企业近5年的平均销售额在5000万元以上。葵花药业的小儿智力糖浆市占率高,约占七成,其次是上海宝龙安庆药业。2019至2023年,葵花药业的小儿智力糖浆销售额有下降再回升的趋势,分别是6695万元、5726万元、5287万元、4651万元、5441万元,2024上半年为3101万元。
业绩方面,根据葵花药业发布2024年业绩预告,预计2024年净利润下降41.03%-60.68%,约为4.4亿到6.6亿元。不仅仅是葵花药业,据Wind金融终端统计,共30家中药板块上市公司发布了业绩预告,其中仅8家企业净利润变动幅度为正值。
有业内人士表示,此前由于政策红利等因素,中药板块在医药寒冬中表现逆流而上,但随着政策红利正逐渐消失,需求端用户开始更加关注药物的具体临床价值,而对于中成药疗效的争议,对整体市场是有损害的。虽然小儿智力糖浆仅有5000万元用药市场,但其问题似乎具有普遍意义,或许能讲清楚疗效是中药标准化需要走出的第一步。
去年7月5日,国家药监局宣布,《中药标准管理专门规定》已于7月4日审议通过,并将于2025年1月1日起施行。该规定旨在构建严格的药品标准体系,将通用性要求与中药特性相结合,对中药标准研究、制定、修订及实施等方面进行明确规定,明确责任主体,规范关键流程。
《中药标准管理专门规定》的制定,旨在解决中药行业存在的质量不一、标准不统一等问题。规定实施后,预计将提升中药质量标准,保障用药安全,促进中药行业的规范化发展。国家药监局计划开展宣贯培训,以提高中药标准管理的能力和水平。
“掌”握科技鲜闻 (微信搜索techsina或扫描左侧二维码关注)










