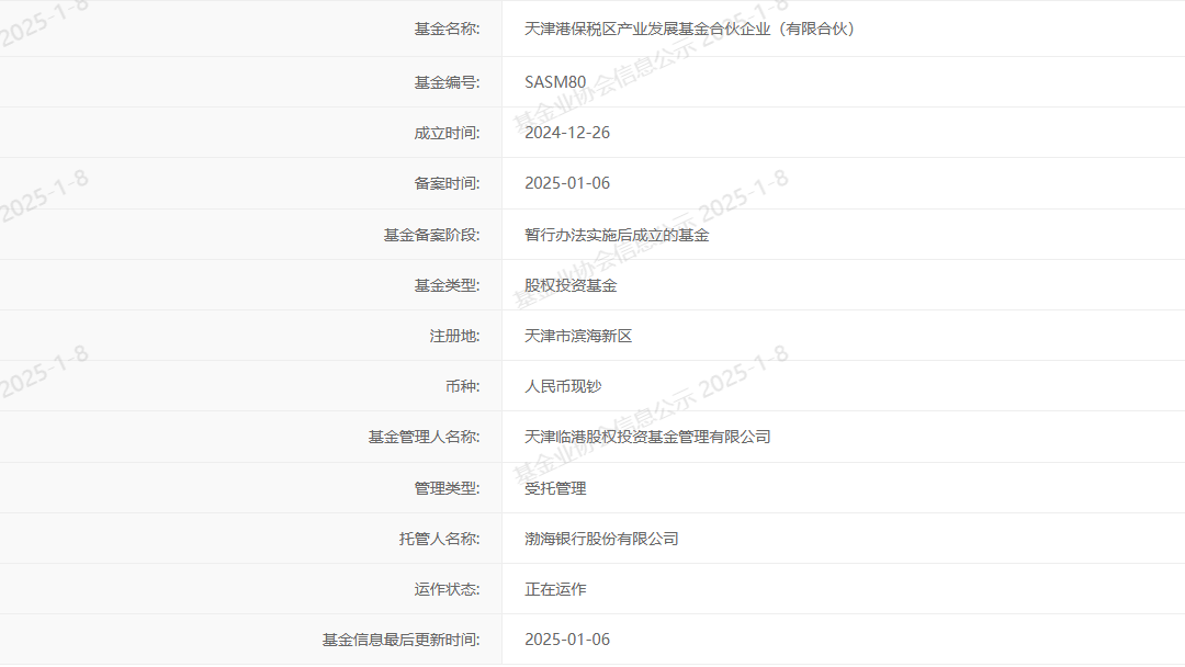
投资界(ID:pedaily2012)消息,天津港保税区产业发展基金(以下简称保税产业基金)已于近日成功通过中国基金业协会备案。据悉,该基金为保税区首支百亿级别的产业母基金,总规模100亿元,主要投向航空航天、生物制造、海洋经济、氢能、先进制造等保税区重点发展产业。

据介绍,保税产业基金由天津港保税区财政局出资,天津临港基金公司担任基金管理人。基金将主要关注保税区“4+2+3” 现代工业产业体系,以及保税区统筹服务区内产业培育、资产盘活等项目,并将通过设置激励机制、容错机制等创新机制,鼓励发展长期资本、耐心资本,吸引社会资本合作,支持保税区产业及企业发展。
来源:北方网
新浪科技公众号
“掌”握科技鲜闻 (微信搜索techsina或扫描左侧二维码关注)










