快科技1月8日消息,苹果计划在2025年第三季度推出旗下首款小折叠iPhone,引发了业内和消费者的广泛关注。
与此前传闻不同,苹果的小折叠iPhone将采用与三星Galaxy Z Flip类似的翻盖设计,而三星也将成为这款折叠屏手机的主要屏幕供应商。
消息指出,苹果正在与三星合作,使用三星提供的柔性OLED屏幕技术,这将确保小折叠iPhone拥有出色的显示效果和耐用性。

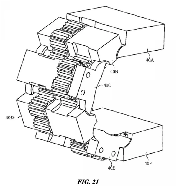
同时,苹果可能在铰链设计上采用新的专利技术,以解决目前折叠屏手机普遍存在的折痕问题,从而提升用户体验。
此次推出的小折叠iPhone或将搭载苹果自研的最新A系列芯片,支持全新的iOS折叠屏优化系统,为用户带来更流畅的交互体验。
此外,有分析师预测,小折叠iPhone可能定价在高端市场,瞄准喜欢时尚设计和高科技产品的消费者。

【本文结束】如需转载请务必注明出处:快科技
责任编辑:无痕
新浪科技公众号
“掌”握科技鲜闻 (微信搜索techsina或扫描左侧二维码关注)










