红星资本局5月10日消息,今日下午,格力方面回应红星资本局称,“孟羽童已离开,不在公司任职。”并表示人员流动很正常。格力电器(000651.SZ)旗下直播间“明珠羽童精选”近日也已更名为“格力明珠精选”,直播间头像从董明珠与孟羽童的合照变成董明珠一人。
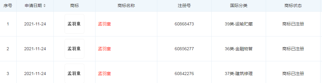
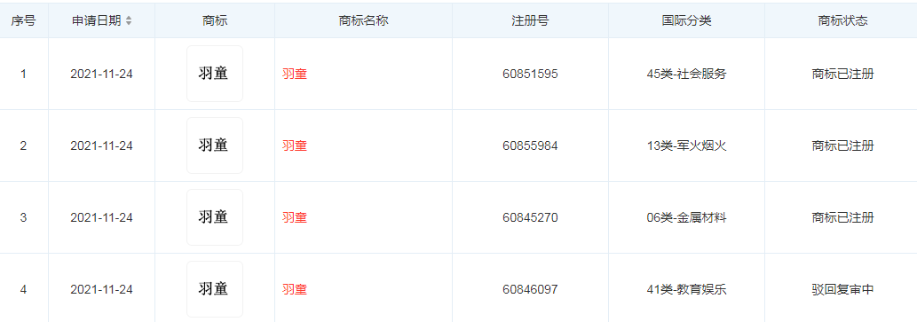
中国商标网官网显示,珠海格力电器股份有限公司此前申请了多个“明珠羽童”“羽童”“孟羽童”商标,国际分类包括机械设备、食品、办公用品、厨房洁具等。


↑截图自中国商标网据公开信息,目前全部45个国际分类的“明珠羽童”商标,商标状态均为已注册。“孟羽童”商标状态多为已注册,部分商标状态为“初审公告”。而“羽童”商标则有部分状态为“驳回复审中”。


↑截图自天眼查编辑 余冬梅 肖子琦
新浪科技公众号
“掌”握科技鲜闻 (微信搜索techsina或扫描左侧二维码关注)










