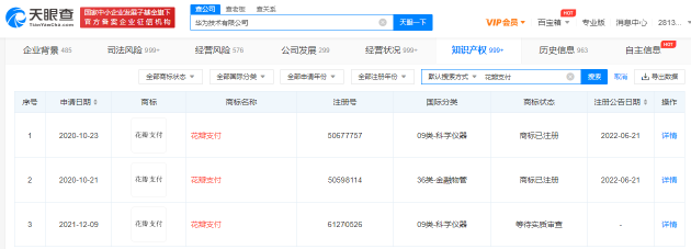
新浪科技讯 7月15日上午消息,天眼查App显示,近日,华为技术有限公司申请的两枚“花瓣支付”商标进度变更为“已注册”,两商标申请于2020年10月,国际分类为金融物管、科学仪器。此外,华为于2021年12月再次申请科学仪器类“花瓣支付”商标,目前该商标状态为等待实质审查。


新浪科技公众号
“掌”握科技鲜闻 (微信搜索techsina或扫描左侧二维码关注)










