快科技8月25日消息,Intel将在年底发布下代Panther Lake处理器,面向主流笔记本,而这类移动处理器经常会被用于工业、嵌入式领域。
这不,Adlink就提前公布了一款采用Panther Lake处理器的工业级主板“VNX+”,异常小巧,虽无具体尺寸但看起来只有一张卡片大小的样子。

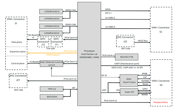
主板上的Panther Lake处理器清晰可见,分为六个不同模块,但其中至少一个应该只是填充之用。
规格表显示有H404、H484两种规格,前者4个P核、4个Xe3 GPU核心,后者则是4个P核、8个E核、4个Xe3 GPU核心。
另外,板载16/32GB LPDDR5-8533内存、1TB PCIe 4.0 SSD,还提供PCIe 4.0 x4数据通道、PCIe 5.0 x8扩展通道。
作为工业级主板,最低运行温度-40℃,最高则是85℃。


【本文结束】如需转载请务必注明出处:快科技
责任编辑:上方文Q
新浪科技公众号
“掌”握科技鲜闻 (微信搜索techsina或扫描左侧二维码关注)










