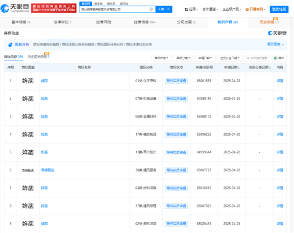
快科技5月19日消息,近日张雪峰旗下公司注册多枚“姩菡”商标,而他的女儿名字为张姩菡。

据天眼查显示,近日,苏州峰学蔚来教育科技有限公司申请注册多枚“姩菡”商标,当前商标状态均为等待实质审查,公司法人为张子彪(张雪峰)。
据悉,2021年,张雪峰离开了打拼14年的北京,到苏州创立了“峰学未来”品牌。
该公司注册资本为1000万元,目前拥有升学规划指导、素质能力拓展、图书研发策划、实习就业、研学教育、直播电商等多个业务板块。
此前,张雪峰曾多次在直播中以女儿前途规划为例引发关注。
张雪峰称,如果女儿学习不好,混一个本科学历就行,毕业后进银行工作。
他表示:“自己两家公司常年有上亿存款,到时候女儿在哪家银行工作,公司的钱就存哪家银行。”
张雪峰甚至还称:“我女儿不用卷高考,但你们千万别学我!”
此言一出,曾立即引发网络上的热烈讨论。
这番话之所以极具争议性,在于其透露出一种“资源铺路”的就业逻辑。
在大众认知里,职场竞争应基于个人能力、学识与拼搏。
张雪峰此言,被不少网友解读为凭借雄厚财力为子女“砸”出一条捷径,无形间践踏了公平竞争的职场生态,也触动了普通家庭出身学子对于就业艰难的敏感神经。
【本文结束】如需转载请务必注明出处:快科技
责任编辑:哈尔
新浪科技公众号
“掌”握科技鲜闻 (微信搜索techsina或扫描左侧二维码关注)










