快科技4月6日消息,三星预计将在今年下半年推出首款三折叠手机,不过最新曝光的专利还显示,三星正在积极研究四折叠手机的设计方案。
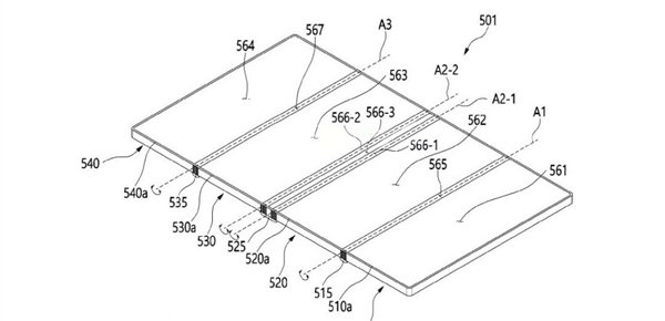
三星的这项新专利描述了一款四折叠手机的设计,通过整合三个铰链实现三个折叠区域,这种设计不仅支持多种使用形态,还能够适应不同的应用场景。

例如,用户可以将手机完全展开,变成一个更大的平板尺寸,享受更大的屏幕视野;或者部分展开,达到类似苹果iPad的4:3屏幕比例,适合阅读和观看视频。
此外,理论上用户还可以在不同的屏幕上同时运行多个应用程序,极大地提升多任务操作体验。
不过这种复杂的折叠设计可能导致手机整体重量增加,折叠后的机身厚度也可能偏高,这可能会影响用户的便携性和使用体验。

为了应对这些问题,三星特别强化了每个铰链的内部结构,以减少折叠和展开时的损耗,并尽可能降低屏幕折痕的出现。
目前为止,尚未有任何关于三星推出四折手机的具体爆料,如同所有专利一样,专利并不代表厂商最终一定会推出量产产品。
不过,三星未来仍有可能将专利中探索的技术,部分应用到其他实际的折叠手机中。
【本文结束】如需转载请务必注明出处:快科技
责任编辑:黑白
新浪科技公众号
“掌”握科技鲜闻 (微信搜索techsina或扫描左侧二维码关注)










