IT之家 12 月 31 日消息,科技媒体 Notebook Check 昨日(12 月 30 日)发布博文,基于任天堂最新获批的专利,描述了 Alarmo 闹钟配件可联动 Switch 2 掌机,接收来自游戏的实时通知。
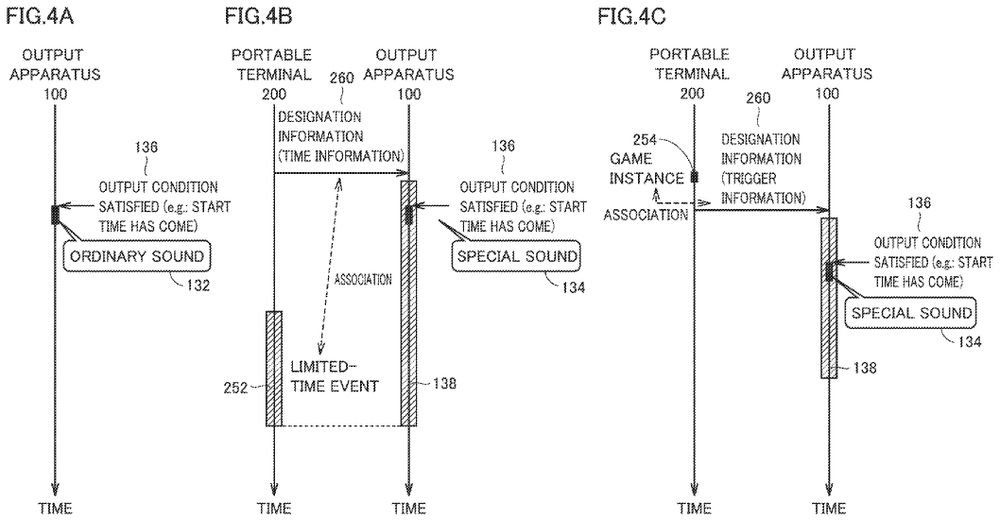
IT之家援引博文介绍,专利的核心在于改变通知的触发机制。传统闹钟的声音和提醒均为设备内预设的脚本事件,而任天堂的新方案则允许 Alarmo 闹钟等配件连接其他设备(如 Switch 2 主机),接收并响应实时的游戏内通知。

这项功能的应用场景极具想象空间。例如,玩家在《马力欧赛车》中获得第一名后,Alarmo 闹钟可能会立即响起一阵庆祝的铃声;闹钟的音效也可能随着游戏内季节的变化而改变。由于 Alarmo 本身不具备蓝牙功能,这种实时通信很可能将通过其内置的 Wi-Fi 连接功能来实现。


Alarmo 闹钟目前虽然设计独特,但功能相对基础,主要集中于闹铃和播放预设的游戏场景音效,并提供初级的睡眠追踪。有批评者认为其功能与高昂售价不符,缺乏与智能应用的联动。若该专利技术得以应用,Alarmo 将不再仅仅是床头的装饰品,而是能走进客厅,成为提升游戏氛围感的核心交互配件,进一步提升其产品价值。

新浪科技公众号
“掌”握科技鲜闻 (微信搜索techsina或扫描左侧二维码关注)










