IT之家 10 月 14 日消息,汽车媒体 CarBuzz 昨日(10 月 13 日)发布博文,报道称保时捷获批一项混合动力双涡轮增压系统的新专利,有望解决传统双涡轮增压(Twin-Turbo)发动机中常见的“气流失速”(Flow Stall)技术难题。

IT之家援引博文介绍,双涡轮增压是指发动机使用两个涡轮增压器来增加进气量,从而提升动力,通常用于 V 型或水平对置等多缸发动机,每个涡轮负责其中一侧气缸。
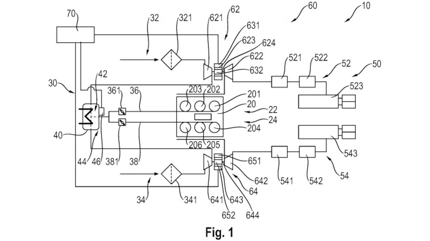
在传统的双涡轮增压发动机设计中,尤其是在采用共用进气歧管的系统中,存在一个难以察觉的“气流失速”技术盲点。当发动机进气门的脉冲、温度变化等因素干扰正常气流后,会导致空气反向流动,形成“失速”现象。
这种情况不仅会让高温气体倒灌入涡轮增压器,带来潜在的损坏风险,还会造成发动机进气压力不稳,直接导致扭矩输出出现中断,影响驾驶体验。

保时捷为根除这一顽疾,在最新获批的专利中,巧妙地运用了其在全新 911 GTS 上首发的 T-Hybrid 混合动力涡轮技术。该系统的核心在于,每个涡轮增压器内部都集成了一个小型电机。

系统的工作原理是:首先,位于进气歧管的空气质量流量(MAF)传感器会实时监测进气压力。一旦传感器检测到因气流失速导致的压力异常下降,系统会立即与两个涡轮各自的速度传感器进行数据比对。

当系统确认某个涡轮因反向压力而转速下降时,其内置的电机会几乎在瞬间启动,主动将该涡轮加速至预设的正常运行速度。这一过程完全独立于发动机的废气流量,反应极为迅速。

因此,无论是单个涡轮还是两个涡轮同时出现失速,系统都能精准地、独立地进行补偿,迅速恢复正确的进气流向和压力,从而确保发动机的扭矩输出始终保持平稳、连贯。
该专利还设计了一套巧妙的冗余验证机制。由于两个电动涡轮连接在同一个电气网络上,系统可以通过监测并确保两个电机在放电或能量回收时的功率完全相等,来反向验证两个涡轮增压器是否在同步、同效地运行。这种电气层面的“自检”功能,为防止进气流中断提供了双重保障。

“掌”握科技鲜闻 (微信搜索techsina或扫描左侧二维码关注)










