IT之家 4 月 6 日消息,外媒 Roadtovr 联系任天堂,确认任天堂在 2019 年推出的 Labo VR 纸板头显配件不兼容 Switch 2 游戏机。

据悉,由于 Switch 2 游戏机尺寸相对于初代 Switch 有所调整,因此无法装入 Labo VR 纸板头显配件,不过这可以通过魔改 / 重新开模自制相应头显配件来解决。
但目前尚不知悉任天堂是否会对 Labo VR 配套的游戏进行限制,例如使其直接无法在 Switch 2 平台上运行,考虑到任天堂已宣布“Labo VR 配件不支持 Switch 2”,因此该公司很有可能在相应游戏机上施以限制,具体还需实机到手专门进行测试。
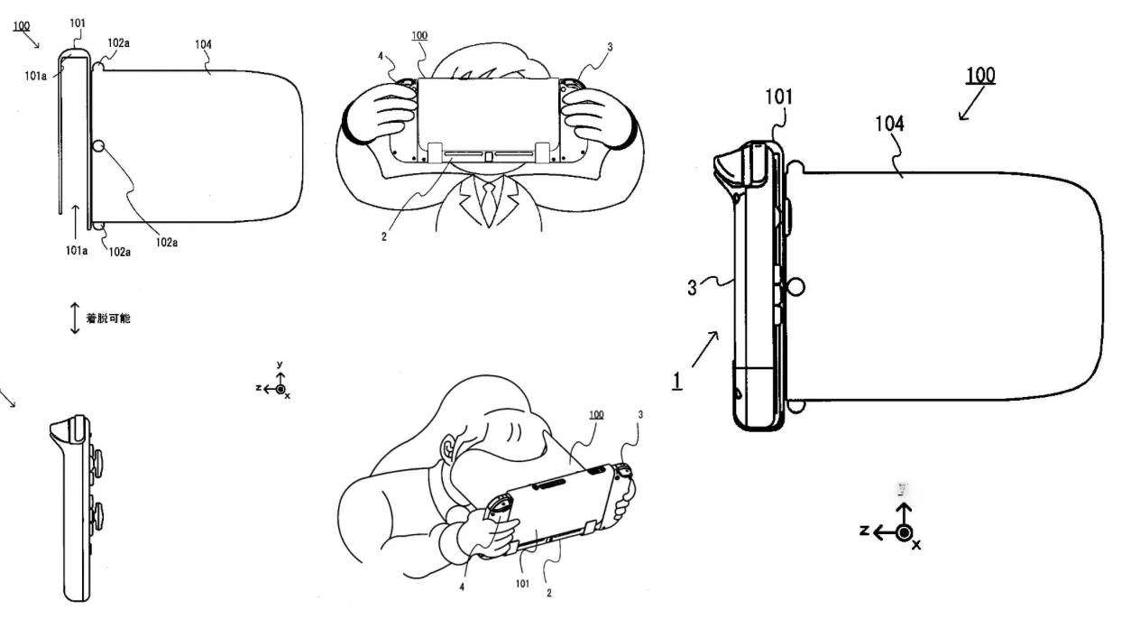
IT之家同时注意到,任天堂在 2024 年公开的一项专利显示该公司很有可能推出第二代 Labo VR 纸板头显,这意味着 Switch 2 不兼容现款 Labo VR 纸板头显的原因可能是“任天堂计划推出新的 VR 头显配件”。
任天堂 Switch 2 直面会专题
新浪科技公众号
“掌”握科技鲜闻 (微信搜索techsina或扫描左侧二维码关注)










