IT之家 4 月 3 日消息,科技媒体 xpertpick 今天(4 月 3 日)发布博文,报道称谷歌获批《通过显示屏无线充电》的专利,将无线充电线圈集成在手机屏幕下方,实现通过屏幕传输或接收电力,突破传统依赖设备背板的充电模式。
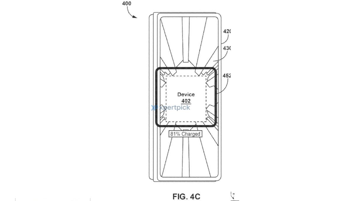
与传统方案不同,这项编号 18294508 的专利将充电线圈置于显示屏下方,用户无需翻转设备即可充电。IT之家附上专利图如下,描述了一台显示“已充电 81%”的谷歌设备,屏幕下方可见线圈轮廓,技术文档特别说明,为优化能量传输,充电时会暂时禁用触控功能。

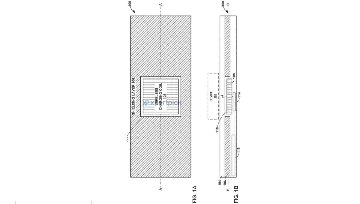
为实现这项创新,谷歌特殊改造屏幕屏蔽层。专利附图 1A 展示带屏蔽层的充电线圈俯视图,1B 剖面图则揭示线圈的立体结构。系统通过识别兼容充电器自动启动流程,在保持显示效果的同时确保高效能量传输。测试数据显示,该方案能有效解决传统无线充电时屏幕使用受限的问题。

专利描述两种应用场景:设备既可作为电力接收端,也能变身充电基站。当手机屏幕朝下放置时,可直接从充电垫获取能量;配备该技术的设备还能通过屏幕为其他设备供电,为智能手表、无线耳机等配件充电提供新方案。这种设计有望彻底改变多设备协同充电的体验。

新浪科技公众号
“掌”握科技鲜闻 (微信搜索techsina或扫描左侧二维码关注)










