IT之家 3 月 10 日消息,多年来,任天堂凭借 Switch 游戏机在掌机游戏领域占据主导地位,如今其继任者 Switch 2 即将推出。目前,我们仅能通过一段官方发布的简短视频预告了解该主机的有限信息,但一项新专利或许透露了 Switch 2 将带来怎样的全新体验。

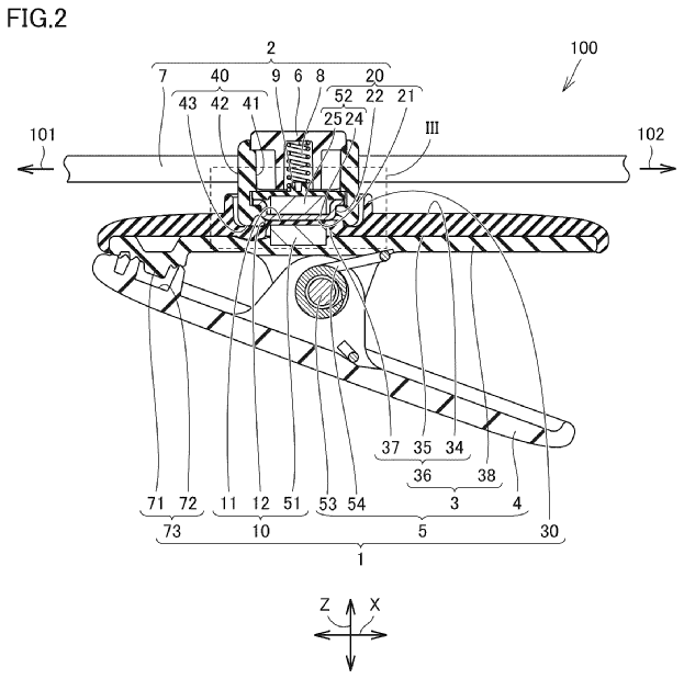
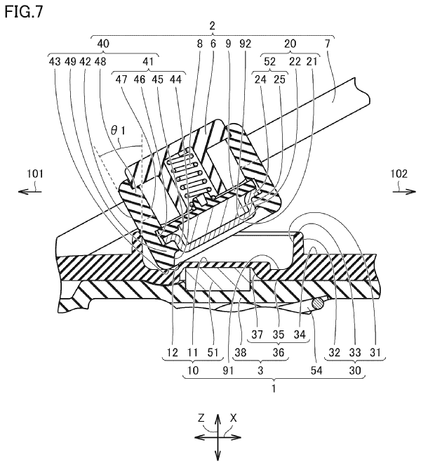
IT之家注意到,据一项新发现的任天堂专利显示,Switch 2 可能会配备一种创新的磁吸式附件,用于实现双屏游戏玩法。该专利文件指出,该装置能够相对主机旋转并固定手机或其他设备,并通过磁力实现设备的吸附与分离。这一设计不仅支持将手机作为第二屏幕使用,还可以根据需求选择单屏或双屏模式。


专利中提到的“连接结构与吸附结构”涉及一种可围绕磁力方向旋转的耦合结构,两个装置能够相对彼此旋转,并且可以方便地吸附与分离。此外,该装置还可能作为手持设备的支架,为用户带来更大的灵活性。
更值得一提的是,该专利还展示了一种适配床上用品的固定装置,表明该设备可以吸附在柔软表面,如床、沙发等,为玩家提供更加便捷的游戏体验。专利中描述的附件结构包括一个床上用品适配器和一个连接仪器,其中床上用品适配器包含固定部分和接触部分。
任天堂在过去的游戏机中已经多次探索双屏功能,因此 Switch 2 有望在此基础上更进一步。不过,在更多细节公布之前,仍需保持谨慎乐观的态度。
新浪科技公众号
“掌”握科技鲜闻 (微信搜索techsina或扫描左侧二维码关注)










