IT之家 3 月 8 日消息,科技媒体 patentlyapple 昨日(3 月 7 日)发布博文,报道称苹果公司获批一项新专利,通过可调节的红外照明技术,进一步提升其设备的手势追踪功能。
该技术不仅适用于 iPhone、iPad、MacBook 等现有设备,还可能应用于未来的 Vision 系列设备及折叠设备。这一创新在降低能耗的同时,将显著改善在低光环境下的手势识别效果。
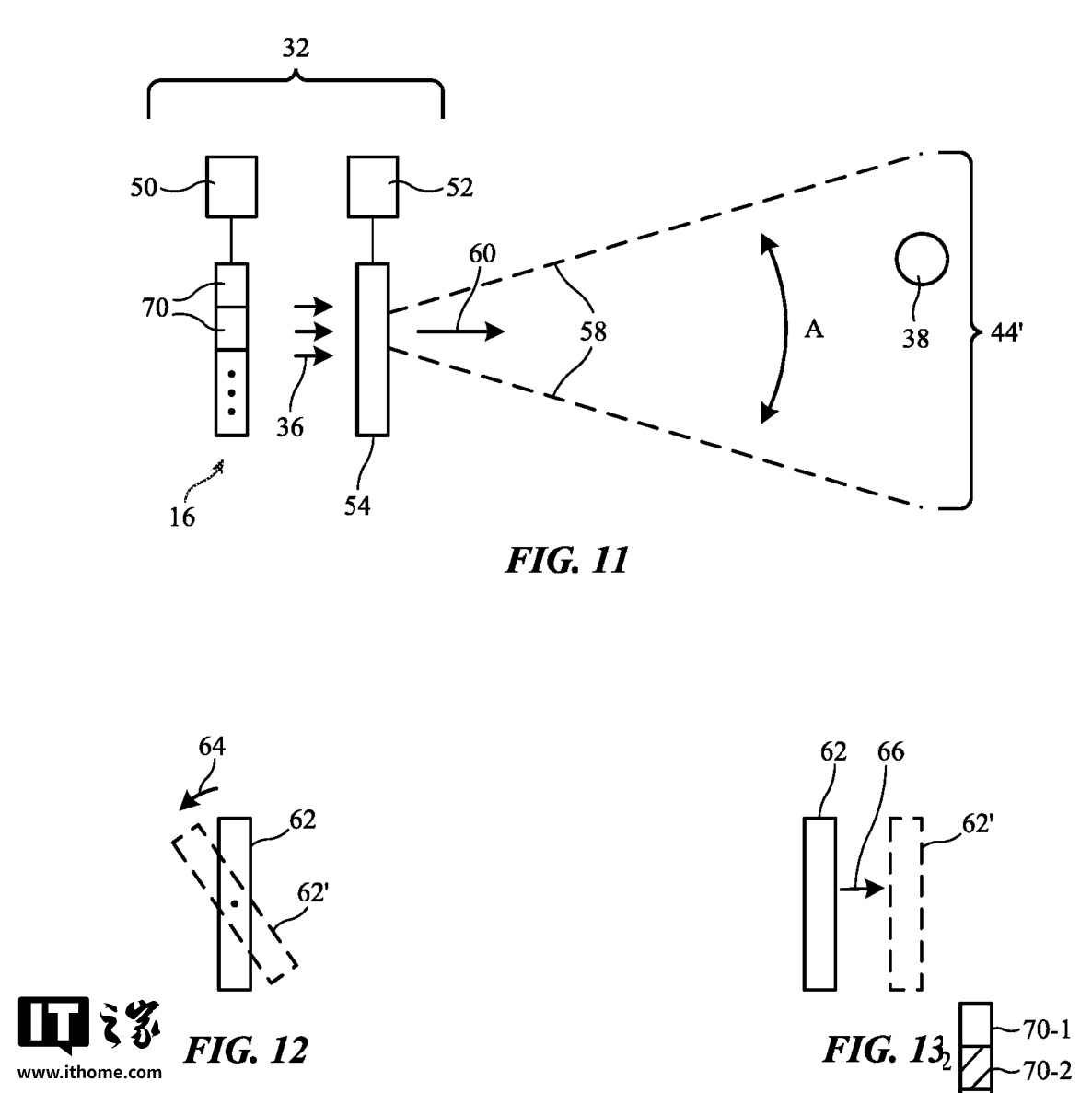
根据专利描述,在低光环境下,设备通过发射红外光辅助图像传感器捕捉用户手势,由于红外光对人眼不可见,避免了对周围环境的干扰。
专利称设备配备可调节照明系统,能够实时调整光束的角度和强度,精准聚焦目标物体(如用户的手部),从而减少对背景物体的照明,节省能源。



通过追踪用户的手部动作和手指手势,设备可将这些动作转化为输入指令,用于控制虚拟对象的移动、菜单选择等操作。
该专利可通过图像传感器捕捉用户图像,用于视频通话或眼动追踪,此外该专利也可以应用于头显设备中,手势追踪系统可实时捕捉用户手部动作,并在虚拟环境中呈现对应的虚拟手部,增强沉浸式体验。

新浪科技公众号
“掌”握科技鲜闻 (微信搜索techsina或扫描左侧二维码关注)










