IT之家 2 月 7 日消息,清华大学、奇瑞汽车股份有限公司申请的“分体式飞行汽车”专利于 1 月 28 日公布。

IT之家从专利申请书获悉,大多数飞行汽车的设计还存在起降时间长、效率低、能耗高等问题。因此,如何提高飞行汽车的起降效率,成为亟待解决的问题。鉴于此,该申请提供一种分体式飞行汽车,能够提高飞行汽车的起降效率。

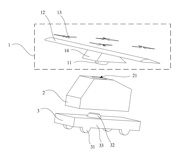
该申请提供一种分体式飞行汽车,包括:飞行器模块、座舱模块和底盘模块,分体式飞行汽车具有地面模式、飞行模式、起飞模式和降落模式。
飞行器模块与座舱模块的顶部相连,底盘模块与座舱模块的底部可拆卸地连接;其中,在分体式飞行汽车从起飞模式切换到飞行模式后,底盘模块与座舱模块分离;在分体式飞行汽车从飞行模式切换到降落模式后,底盘模块与座舱模块对接。
通过该设置,在分体式飞行汽车从起飞模式切换到飞行模式后,底盘模块可以与座舱模块分离,减小飞行阻力,降低飞行能耗;在分体式飞行汽车从飞行模式切换到降落模式后,底盘模块能够与座舱模块对接,使分体式飞行汽车平稳地滑行降落,提高降落效率。
据IT之家此前报道,在去年 10 月的 2024 奇瑞全球创新大会上,奇瑞宣布三体复合翼飞行汽车成功首航。

该产品首创三体对接机构:
飞行模块 + 座舱 = 飞行形态
行驶模块 + 座舱 = 汽车形态

这款三体式复合翼飞行汽车没有方向盘、油门等,汽车支持飞行及行驶两种模式无人驾驶,可实现陆空无人驾驶模式切换,助力解决城市交通拥堵问题。

新浪科技公众号
“掌”握科技鲜闻 (微信搜索techsina或扫描左侧二维码关注)










