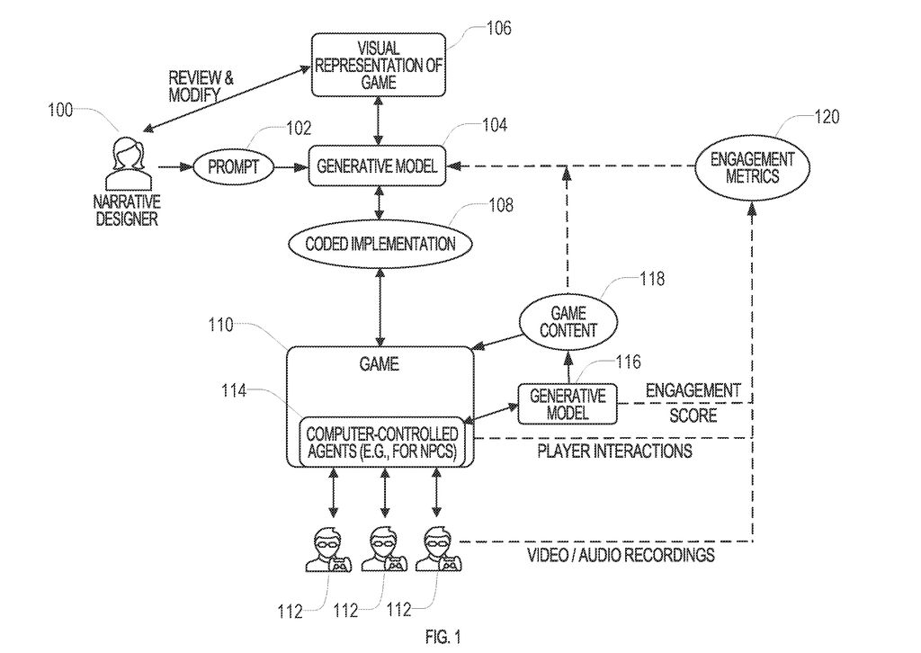
IT之家 1 月 14 日消息,根据美国商标和专利局(USPTO)最新公示的清单,微软获得了一项专利技术,利用生成式人工智能(AI)设计游戏,赋予设计者和玩家通过指令定制游戏体验的能力。


专利概述了 AI 迭代游戏的方式,例如根据指令快速生成与叙事相关的对象。以《我的世界》(Minecraft)为例,玩家可以输入指令,实时创建新的游戏规则、系统、非玩家角色(NPC)或叙事内容。
新浪科技公众号
“掌”握科技鲜闻 (微信搜索techsina或扫描左侧二维码关注)










