
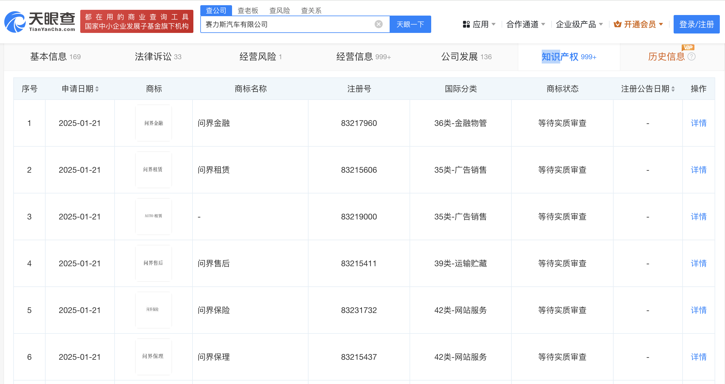
近日,天眼查显示,赛力斯汽车有限公司申请注册“问界金融”“问界租赁”“问界售后”“问界保险”等商标,国际分类包含金融物管、广告销售、运输贮藏等,当前商标状态均为等待实质审查。

赛力斯汽车有限公司成立于2012年,法定代表人为岑远川,经营范围为研发、生产、销售:新能源汽车及其零部件;汽车研发及相关技术的技术咨询、技术服务、技术成果转让;货物及技术进出口。该公司由赛力斯和国开制造业转型升级基金(有限合伙)共同持股。
资料显示,赛力斯2025年1月的新能源汽车产量为19,889辆,同比下降48.67%;销量为17,906辆,同比下降51.39%。其中,赛力斯汽车的产量为17,513辆,同比下降44.88%;销量为16,432辆,同比下降47.02%。其他车型的产量为2,734辆,同比下降59.56%;销量为4,524辆,同比下降0.77%。整体来看,赛力斯1月的总产量为22,623辆,同比下降50.29%;总销量为22,430辆,同比下降45.82%。
(校对/黄仁贵)

海量资讯、精准解读,尽在新浪财经APP
VIP课程推荐
加载中...
APP专享直播
热门推荐
收起
新浪财经公众号
24小时滚动播报最新的财经资讯和视频,更多粉丝福利扫描二维码关注(sinafinance)
