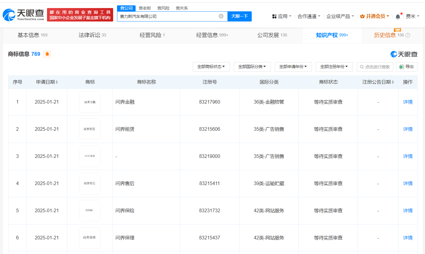
南方财经2月11日电,天眼查知识产权信息显示,近日,赛力斯汽车有限公司申请注册多枚“问界二手车”“问界金融”“问界售后”“问界二手车”“问界保险”等商标,国际分类包含金融物管、广告销售、运输贮藏等,当前商标状态均为等待实质审查。赛力斯汽车有限公司成立于2012年9月,法定代表人为岑远川,注册资本约100.8亿人民币,经营范围含汽车研发及相关技术的技术咨询、技术服务、技术成果转让等,由赛力斯(601127)、国开制造业转型升级基金(有限合伙)共同持股。




海量资讯、精准解读,尽在新浪财经APP
VIP课程推荐
加载中...
APP专享直播
热门推荐
收起
新浪财经公众号
24小时滚动播报最新的财经资讯和视频,更多粉丝福利扫描二维码关注(sinafinance)
