
【导读】万达集团所持94亿元股权遭冻结
中国基金报记者 李智
近日,大连万达集团股份有限公司新增两则股权冻结信息,冻结股权数额合计超94亿元,冻结期限均为三年。
万达集团所持94亿元股权遭冻结
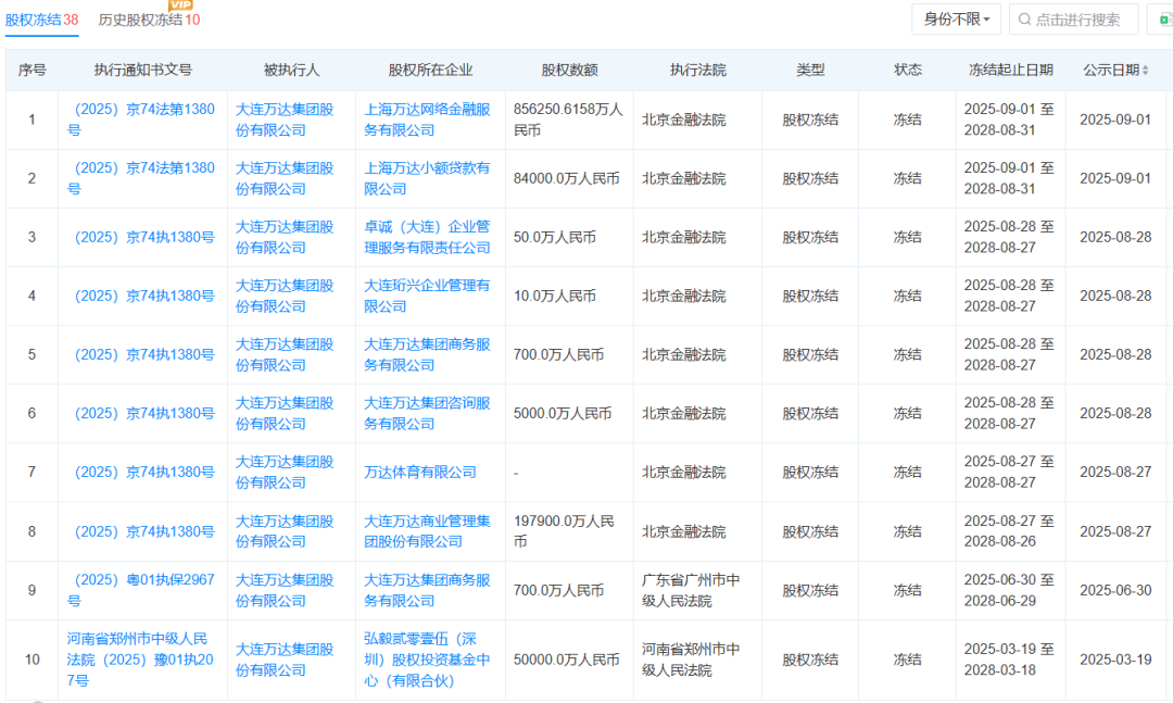
国家企业信用信息公示系统网站显示,近日,大连万达集团股份有限公司新增两则股权冻结信息,股权所在企业分别为上海万达网络金融服务有限公司、上海万达小额贷款有限公司,冻结股权数额合计超94亿元,冻结期限均为三年,执行法院均为北京金融法院。


值得注意的是,本次股权冻结涉及万达旗下网络金融及小贷两大核心平台,冻结期限至2028年8月31日届满。
上海万达网络金融服务有限公司网站显示,万惠云创包含万达钱包和万达普惠两大业务。其中,万达钱包是万达集团旗下面向万达业态客群的科技金融产品,智能整合先享后付、小额信贷、充值预付等金融服务功能。万达普惠围绕“金融+互联网+大数据”的创新方向,以诚信、合规、稳健、创新的经营理念,致力于为普罗大众、小微企业提供有特色、优质便捷的金融服务。
图源:万惠云创万达集团共有38条股权冻结信息
近年来,万达集团经营压力较大,负面消息不断。天眼查数据显示,8月27日,大连万达集团股份有限公司被北京金融法院冻结19.79亿元股权,股权被执行的企业为大连万达商业管理集团股份有限公司。

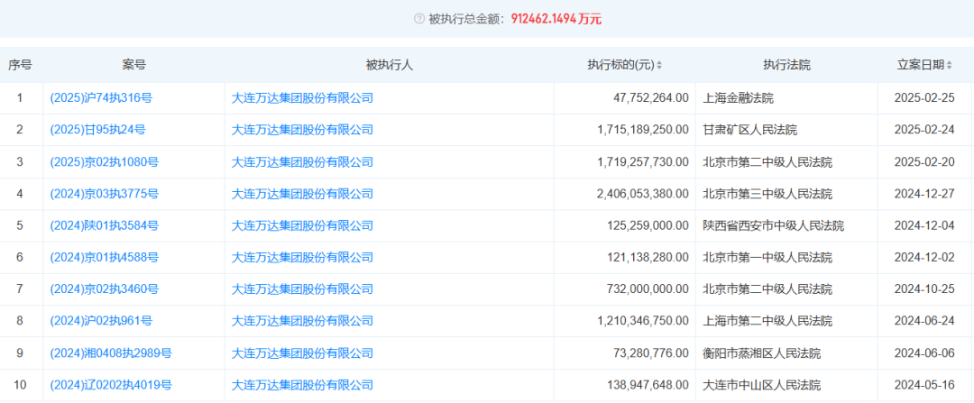
截至9月5日,万达集团共有10条被执行人信息,合计被执行金额为49.29亿元;共有25条历史被执行人信息,被执行金额高达91.25亿元。

此外,万达集团共有38条股权冻结信息,29条立案信息。

公开资料显示,大连万达集团股份有限公司成立于1992年9月,法定代表人为王健林,经营范围包括商业地产投资及经营、酒店建设投资及经营、连锁百货投资及经营、电影院线等文化产业投资及经营等。股东信息显示,该公司由大连合兴投资有限公司、王健林共同持股,实际控制人为王健林。
编辑:晨曦
校对:乔伊
制作:小茉
审核:木鱼

VIP课程推荐
APP专享直播
热门推荐
收起24小时滚动播报最新的财经资讯和视频,更多粉丝福利扫描二维码关注(sinafinance)
