3 月 11 日消息,科技媒体 Appleinsider 昨日(3 月 10 日)发布博文,挖掘美国商标和专利局公示清单,发现苹果获批 Apple Pencil 相关专利,描述其具备“物理形变”能力。
IT之家援引博文介绍,该专利名为“具备可调特征的手写笔”,让 Apple Pencil 不再局限于单一的数字触控,而是灵活变化物理形态与内部结构,精准模拟钢笔、铅笔、粉笔、马克笔或毛笔等传统画材的真实握持与书写手感。
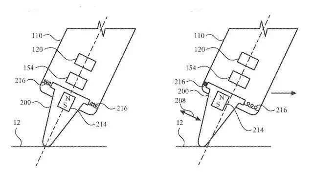
根据专利表述,苹果公司为实现逼真的物理触感,在手写笔内部引入了前沿材料与机械结构。专利文件指出,新一代 Apple Pencil 的笔尖外壳与刚性核心之间或将填充“磁流变液”。

系统可通过电磁场实时改变该液体的粘度,从而动态调整笔尖的硬度、柔韧性与摩擦力。同时,笔身内部的微型元件支持定向移动,以此改变手写笔的重心和转动惯量,还原不同实体画笔的重量分布特性。

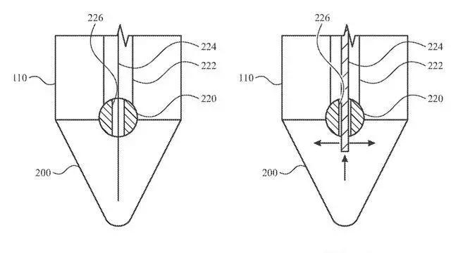
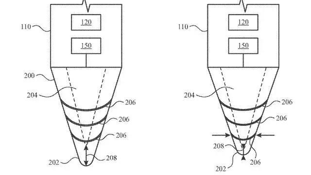
在外部形态方面,苹果在专利中明确表示,未来的笔尖不再局限于传统的固定圆锥体,而是能够根据当前任务改变大小与形状。

专利草图进一步展示了一项“分裂”功能:笔尖能够从单一触点展开为多个触点,直接在物理层面模拟真实毛笔的刷毛质感。此外,笔身表面或将集成触控感应区,方便用户一键切换不同的画笔物理特性。

在生态适配层面,这款支持“物理变形”的 Apple Pencil 未来不仅将继续深度绑定 iPad,甚至有望兼容 iPhone。
【来源:IT之家】
新浪科技公众号
“掌”握科技鲜闻 (微信搜索techsina或扫描左侧二维码关注)










