C114讯 3月11日消息(岳明)据来自上海联合产权交易所的信息显示,上海垣信卫星科技有限公司(以下简称上海垣信)即将启动增资项目。
在增资项目的公告说明中,上海垣信并未披露拟募集资金总额。之前,据界面新闻报道,上海垣信预计融资规模将达到50至60亿元,投前估值更是超过400亿元。不过,上海垣信在公告中首次详细披露了最近三年的审计报告(2022/2023/2024年)以及最近一期的财务报表(截至2025年11月30号),让业界得以从财务角度对上海垣信有个直接的认识。
上海垣信是低轨巨型星座“千帆星座”的投资建设运营方。在行业内,“千帆星座”素有中国版Starlink之称,其远期规划的在轨卫星数量超过15000颗,希望构建空天地一体化网络,融合6G、AI、物联网,支撑万亿级数字经济场景。
四年成绩单:资产总额突破100亿
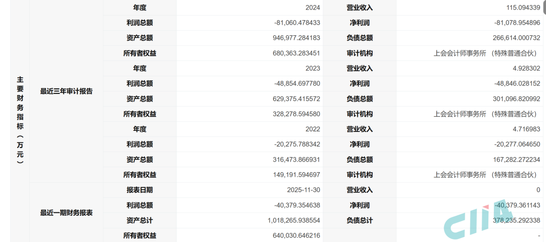
2022年,上海垣信实现营业收入4.7万元,净利润为-20277万元,负债总额为167282万元,所有者权益为149191.6万元,资产总额为316473.9万元。
2023年,上海垣信实现营业收入4.9万元,净利润为-48846万元,负债总额为301096.8万元,所有者权益为328278.6万元,资产总额为629375.4万元。
2024年,上海垣信实现营业收入115万元,净利润为-81078.95万元,负债总额为266614万元,所有者权益为680363万元,资产总额为946977.3万元。
2025年前11个月,上海垣信实现营业收入0万元,净利润为-40379万元,负债总额为378235.3万元,所有者权益为640030.6万元,资产总额为1018265.9万元。

理性看待行业发展客观规律
可能在很多人看来,这是一份不太理想的成绩单。但在笔者看来,这组数据完全契合低轨卫星互联网行业 “前期重资本投入、无规模化营收、资产规模快速扩张、股东持续增资托底” 的典型发展规律。
从营收端来看,上海垣信旗下的“千帆星座”尚未进入商业化周期,无稳定规模化收入。低轨卫星星座需完成一期数百颗卫星的在轨组网,才能具备稳定的商用服务能力,进而产生规模化营收。
从利润端来看,上海垣信亏损规模随“千帆星座”组网推进逐年扩大,这是因为前期一次性刚性投入较大,需在组网完成后通过商业化运营逐步摊销、实现盈利,是行业必经的投入周期。
从资产与权益端来看,上海垣信总资产三年内翻三倍,年复合增速超47%,为“千帆星座”组网提供了充足的资产与资金支撑。同时,尽管持续大额亏损,所有者权益仍逆势大幅增长,核心源于大额股权融资,这也凸显了市场对于上海垣信长期价值的认可。
从负债与偿债能力角度来看,尽管“千帆星座”组网投入巨大,上海垣信并未依赖高息负债扩张,反而通过股权融资持续优化财务结构,资产负债率整体呈下行趋势,偿债压力较小。
但需要指出的是,随着千帆星座一期组网完成后,营收能否快速放量、亏损能否逐步收窄、商业化落地进度,将是决定企业财务表现反转的核心。上周,上海垣信董事长张琦在接受媒体采访时透露,“千帆星座”目前已发射108颗组网卫星,并初步建设了地面测运控网络,预计年内实现全球初步覆盖。除了快速组网之后,千帆星座在国内外也展开了多项技术与商业验证。
“掌”握科技鲜闻 (微信搜索techsina或扫描左侧二维码关注)










