在2023年,Voigtlander福伦达为富士X卡口推出了Nokton 50mm F1.2 X大光圈中远摄镜头。然而,同样使用APS-C画幅的索尼E卡口和尼康Z卡口系统,却一直没有得到这款镜头的支持。

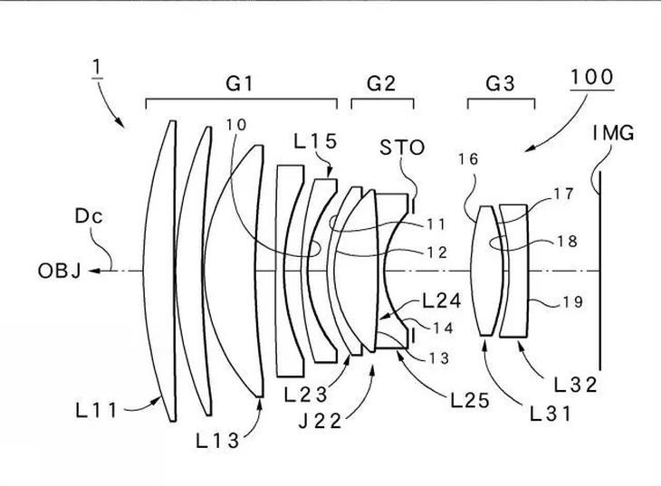
最近,福伦达被发现公布了两款镜头的设计专利,其中一款正是之前提到的Nokton 50mm F1.2 X,而另一款则是同样适配APS-C画幅的70mm F1.2镜头。这款70mm F1.2大光圈镜头采用了8组10片的光学设计,具有105mm的等效焦距,更适合在人像拍摄中突出主体。目前,富士原厂X卡口定焦镜头中有不少大光圈产品,例如XF 50mm F1.0 R WR和XF 56mm F1.2 R WR,它们的等效焦距大约在76-85mm之间。如果需要更长焦距的镜头,像XF 90mm F2 R LM WR虽然焦距更长,但光圈不够大。因此,福伦达70mm F1.2确实有其市场空间。
对于富士用户来说,或许是个好消息,因为他们可能会在未来迎来70mm F1.2的加入,但E卡口和Z卡口的用户是否又会被忽视呢?看起来福伦达不应忽视APS-C画幅的E卡口和Z卡口系统的潜力。

Voigtlander 70mm F1.2专利参数
· 焦距:72.8mm
· 光圈值:F1.23
· 半对角线画角:10.89°
新浪科技公众号
“掌”握科技鲜闻 (微信搜索techsina或扫描左侧二维码关注)










