3月17日午间,国产电子设计自动化(EDA)软件工具龙头大厂华大九天发布公告,宣布拟以发行股份及支付现金等方式收购另一家国产EDA厂商——芯和半导体科技(上海)股份有限公司(以下简称“芯和半导体”)的控股权。公司股票自3月17日起开始停牌,预计在不超过10个交易日的时间内披露本次交易方案。
华大九天表示,公司与本次交易的主要交易对方已签署意向协议,初步达成购买资产意向。本次交易的具体方案待由协议各方及芯和半导体股东进一步协商确定,并签署正式股份收购协议。该等正式股份收购协议与意向协议约定不一致时,以正式股份收购协议的约定为准。
资料显示,芯和半导体成立于2019年3月7日,是一家从事电子设计自动化(EDA)软件工具研发的高新技术企业,围绕“STCO集成系统设计”进行战略布局,开发SI/PI/电磁/电热/应力等多物理引擎技术,以“仿真驱动设计”的理念,提供从芯片、封装、模组、PCB板级、互连到整机系统的全栈集成系统EDA解决方案,支持Chiplet先进封装,致力于赋能和加速新一代高速高频智能电子产品的设计,已在5G、智能手机、物联网、人工智能和数据中心等领域得到广泛应用。
芯和半导体公司运营及研发总部位于上海张江,在苏州、武汉、西安和深圳设有研发分中心,在北京、深圳、成都、西安等地设有销售和技术支持部门。此前曾荣获国家科技进步奖一等奖、国家级专精特新小巨人企业等荣誉。
根据华大九天的公告显示,此次收购芯和半导体控股权交易事项尚处于筹划阶段,初步确定的交易对方为上海卓和信息咨询有限公司、上海翔文敏慎信息咨询有限公司、上海和皑企业管理中心(有限合伙)、上海言慎企业管理中心(有限合伙)、上海奕蒂皑企业管理中心(有限合伙)、上海斐特嘉企业管理中心(有限合伙)、上海斐而特企业管理中心(有限合伙)、上海美皑企业管理中心(有限合伙)。
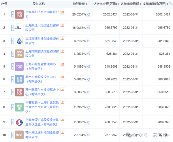
天眼查数据显示,目前上海卓和信息咨询有限公司为芯和半导体第一大股东,持股26.0254%;上海翔文敏慎信息咨询有限公司则是芯和半导体第四大股东,持股6.2538%;上海和皑企业管理中心(有限合伙)为芯和半导体第五大股东,持股5.4895%;上海言慎企业管理中心(有限合伙)持股2.1004%;上海奕蒂皑企业管理中心(有限合伙)持股1.8359%;上海斐特嘉企业管理中心(有限合伙)持股1.3707%;上海斐而特企业管理中心(有限合伙)持股0.7997%;上海美皑企业管理中心(有限合伙)持股0.2450%。

芯和半导体前十大股东
此次华大九天拟交易的8家企业合计持有芯和半导体约44.1204%股权,如果交易顺利完成,那么华大九天将成为芯和半导体的控股股东,有助于进一步提升华大九天在国产EDA市场的龙头地位,并增强其与国际EDA大厂的竞争力。
从全球EDA市场来看,美国厂商占据了垄断地位。根据TrendForce的数据,到2024年,Synopsys、Cadence和Siemens EDA这三家美国公司分别占据全球EDA市场32%、29%和13%的市场份额,三者合计市场份额高达74%。
从中国EDA市场来看,根据赛迪智库数据显示,2020年Cadence、Synopsys和Seimens EDA三巨头合计占领国内近80%的市场份额,而国产EDA厂商的份额仅11.5%,其中华大九天占据了国内EDA市场约6%的市场份额,居本土EDA企业首位。
不过,上述这一数据是4年多前的数据了,近年来,随着国家对于EDA产业的重视,以及在中美科技战背景下自主可控需求的持续提升和资本的助力,国产EDA产业获得了高速的发展,涌现出了数十家国产EDA厂商,并成功助推盖伦电子、华大九天、广立微成功在科创板IPO上市。
但是,在国产EDA产业高速发展的这一过程中当中,虽然涌现出来的企业非常多,但绝大多数都是小而不强,且基本都属于是点工具类型,仅少数厂商拥有部分细分领域的全流程工具,但没有实现整个集成电路设计所需的EDA全流程的覆盖。比如,仅华大九天能够提供模拟电路设计全流程EDA工具;概伦电子开始也只是提供了器件建模和电仿真两大集成电路制造和设计的关键环节的工具,后来才推出了面向各类存储器电路、各类模拟电路等为代表的定制类芯片设计的EDA全流程工具;芯华章也只在数字验证全流程方面有比较完整的覆盖。
因此,对于国产EDA产业来说,减少无序竞争,加强整合并购,鼓励头部企业做大做强,集中力量发展出国产化的全流程EDA平台才是更为迫切的。
从全球头部的三大EDA厂商的发展历程来看,也无一不是通过持续的一些列的并购发展壮大起来的。所以,我们也看到,像国内首家EDA上市公司概伦电子自成立以来,已经先后并购整合了博达微、Entasys、Magwel以及芯智联等企业;作为国产EDA龙头企业的华大九天在上市后也先后收购了芯達科技100%股权和阿卡思近50%股权,此次拟收购芯和半导体更是有助于其提升其产品竞争力和国内市场份额。
不过,华大九天强调,该交易目前正处于筹划阶段,具体交易方案仍在商讨论证中,尚存在不确定性。

“掌”握科技鲜闻 (微信搜索techsina或扫描左侧二维码关注)










