1、DC-DC电源管理芯片效率测试: 提高系统稳定性与可靠性
本文引用地址:
(点击上方标题,可直接查看测试方案)
在的众多应用中,DC-DC电源管理芯片尤为重要。这些芯片为不同电压需求的电子器件提供稳定的电源,尤其在低功耗设备和高效能系统中,电源的效率对整个系统的稳定性至关重要。DC-DC电源管理芯片的效率测试,主要是测量输入功率和输出功率之间的比值,以确保芯片在各种工作条件下的性能。传统的效率测试方法通常依赖于多台设备的协作,测试过程繁琐且容易出现测量误差。而使用Keithley SMU(源测量单元)进行测试,不仅简化了测试流程,还提高了测量精度。SMU源表能够在多个象限同时测量电流和电压,减少了传统方法中的设备复杂性。同时,通过数据采集和分析,可以迅速绘制效率曲线,优化电源设计,确保系统的高效运行。
2、电源环路响应测试:系统稳定性与性能的评估
(点击上方标题,可直接查看测试方案)
电源系统的稳定性对于整个系统的可靠性至关重要,特别是在复杂的设计中。环路响应测试是评估电源系统稳定性和性能的一种重要方法,通常通过测量系统对输入信号的频率响应和相位响应来进环路响应测试中,低噪声性能至关重要。噪声可能会干扰信号的质量,从而影响测量结果的准确性。在这一过程中,选择一款低噪声性能的示波器显得尤为重要。泰克MSO6B系列混合信号示波器凭借其低噪声性能、强大的信号处理能力和多种测量功能,成为进行环路响应测试的理想设备。通过MSO6B系列示波器的Spectrum View功能,用户可以同时在时域和频域内观察信号,独立控制每个域的参数,有效避免了噪声对测试结果的干扰。 这使得环路响应测试 变得更加精准和高效。
3、CMTI测试:保护电路免受高速瞬变电压干扰
(点击上方标题,可直接查看测试方案)
随着新一代宽禁带半导体器件的出现,芯片在高频、高速的工作环境中必须具备更强的抗干扰能力。CMTI(共模瞬变抗扰度)测试是衡量隔离器件对高速共模电压冲击抑制能力的关键测试。CMTI性能的优劣,直接影响到电源系统的稳定性,特别是在电机驱动、太阳能逆变器等应用中,快速的共模电压波动可能导致信号失真、系统不稳定甚至故障。
CMTI测试分为静态和动态两种方式。在静态测试中,工程师将输入端施加高电平或低电平,并模拟共模瞬变,观察其是否影响输出状态。动态测试则在实际工作条件下进行,测试隔离器件在真实环境中的抗干扰能力。为了准确评估CMTI性能,需要使用高带宽、低噪声的示波器,配合适当的探头和设备,确保捕捉到微小的信号变化。
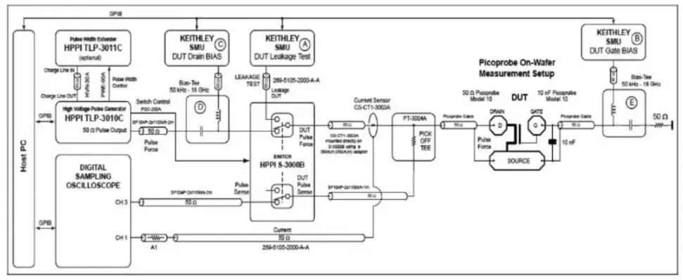
4、TLP测试:精准模拟静电放电对芯片的影响
(点击上方标题,可直接查看测试方案)

静电放电(ESD)是电子器件在运行过程中常见的故障来源,尤其是在高密度集成电路中。TLP(传输线脉冲)测试能够模拟静电放电脉冲,评估芯片的抗静电能力。与传统的ESD测试方法(如HBM、MM、CDM)不同,TLP测试使用方波脉冲,并通过测量电流-电压特性曲线来评估器件在静电放电中的表现。
TLP测试能够提供更详细的IV、IT、VT曲线,这对于静电防护设计的仿真和优化至关重要。尽管TLP脉冲与真实的ESD放电存在差异,但它仍能提供对静电过程的准确模拟,帮助工程师预测芯片在静电环境中的表现。为了实现高精度的TLP测试,必须使用带宽高、采样率快的示波器和探头,以确保捕捉到超快脉冲的细微变化。
5、PSRR测试:电源噪声抑制能力的重要性
(点击上方标题,可直接查看测试方案)

电源对纹波噪声的抑制能力是PMIC的重要性能指标,特别是在高效能应用中,电源的稳定性直接影响到系统的信号质量和运行稳定性。PSRR(电源抑制比)测试是衡量电源管理芯片对输入端纹波噪声的抑制能力的重要指标。电源纹波噪声不仅来源于开关噪声和谐波,还可能受到数字信号串扰、时钟耦合等因素的影响。
PSRR测试通常通过注入特定扫频信号,测量输入端和输出端的纹波,计算出PSRR值。为了确保高精度的测试,推荐使用低噪声、高分辨率的示波器,并结合泰克PSRR应用软件,快速绘制PSRR曲线。这种方法不仅能够高效测量电源噪声抑制能力,还能在系统设计过程中提供数据支持,优化电源设计,提升系统性能。
6、失效分析的智能化高效之道:3700A曲线跟踪器的应用
(点击上方标题,可直接查看测试方案)
失效分析是确保PMIC和其他电子器件可靠性的重要环节,尤其在面对高精度和复杂器件时,传统的手动测试方法往往效率低且易出错。使用3700A曲线跟踪器,工程师可以高效地进行静态参数测试,特别适用于集成电路、二极管、MOSFET等器件的失效分析。
3700A曲线跟踪器不仅继承了之前型号的经典操作模式,还优化了数字化信息管理系统。其快速的测试速度和高精度的测量能力,能够大幅提升失效分析的效率。内置的波形比较功能和自动化测试操作,使得工程师能够快速识别样品与标准品之间的差异,优化测试流程,减少人工操作,提高工作效率。
结尾:智能化测试引领PMIC研发新趋势
在PMIC的研发过程中,高效精准的测试方案是确保产品稳定性和性能的关键。本文介绍的几种测试方案,如DC-DC电源管理芯片效率测试、电源环路响应测试、CMTI、TLP测试、PSRR测量和失效分析,涵盖了PMIC产品的各个重要测试环节。通过使用泰克和Keithley等品牌的先进设备,工程师能够在更高效、精准的测试流程中发现潜在问题,优化设计,提升产品的可靠性。
随着测试技术的不断进步,智能化和自动化将成为PMIC研发中的主流趋势。借助这些高效的测试方案,工程师能够在短时间内完成复杂测试任务,为PMIC产品的研发、生产和应用提供有力支持,推动技术创新和产业升级。
“掌”握科技鲜闻 (微信搜索techsina或扫描左侧二维码关注)










