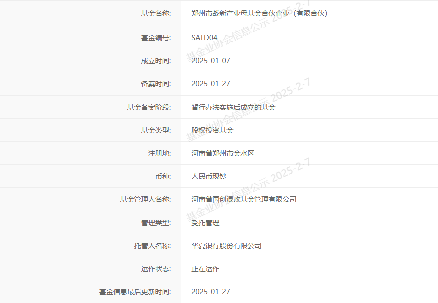
投资界(ID:pedaily2012)消息,近日,郑州市战新产业母基金合伙企业(有限合伙)在中基协备案成功。郑州市战新母基金是由郑州市政府发起设立,采用母子基金运作模式,总规模50亿元,郑州发展投资集团有限公司作为受托管理机构,占股99.98%,河南省国创混改基金管理有限公司担任基金管理人,占股0.02%,基金存续期15年。

郑州市战新母基金旨在支持郑州市传统优势产业升级改造、战略新兴产业转型升级、未来产业发展抢滩布局,以及郑州市重点产业链。重点投向智能终端、汽车制造、氢燃料电池、人工智能、元宇宙、现代食品、服装家居、装备制造、铝加工制品、智能传感器、节能环保、新材料、生物医药、超硬材料、软件、无人机、机器人、卫星、算力、量子科技等产业领域。重点支持补链延链强链类产业链项目落地郑州,支持“专精特新”企业培育,支持工业企业上市,推动打造国家制造业高地。
来源: 中原基金大厦
新浪科技公众号
“掌”握科技鲜闻 (微信搜索techsina或扫描左侧二维码关注)










