IT之家 2 月 25 日消息,游戏媒体 tech4gamers 昨日(2 月 24 日)发布博文,报道称索尼获批 PSSR 超分专利,通过引入“实时量化”技术,有望解决 3A 大作在 GPU 高负载下出现的掉帧和内部渲染分辨率下降问题。
IT之家注:PSSR 全称为 PlayStation Spectral Super Resolution,是索尼专有的 AI 画质优化技术,通过算法将低分辨率图像提升至高分辨率,从而在不增加硬件负担的情况下大幅提升游戏画质。
专利描述称 PSSR 在处理繁重的游戏渲染负载时,系统往往会降低内部渲染分辨率或直接掉帧,从而严重影响玩家的沉浸体验,为此索尼计划引入“实时量化”技术,开发者未来将无需为了提升画质性能而强制降低游戏的内部渲染分辨率。
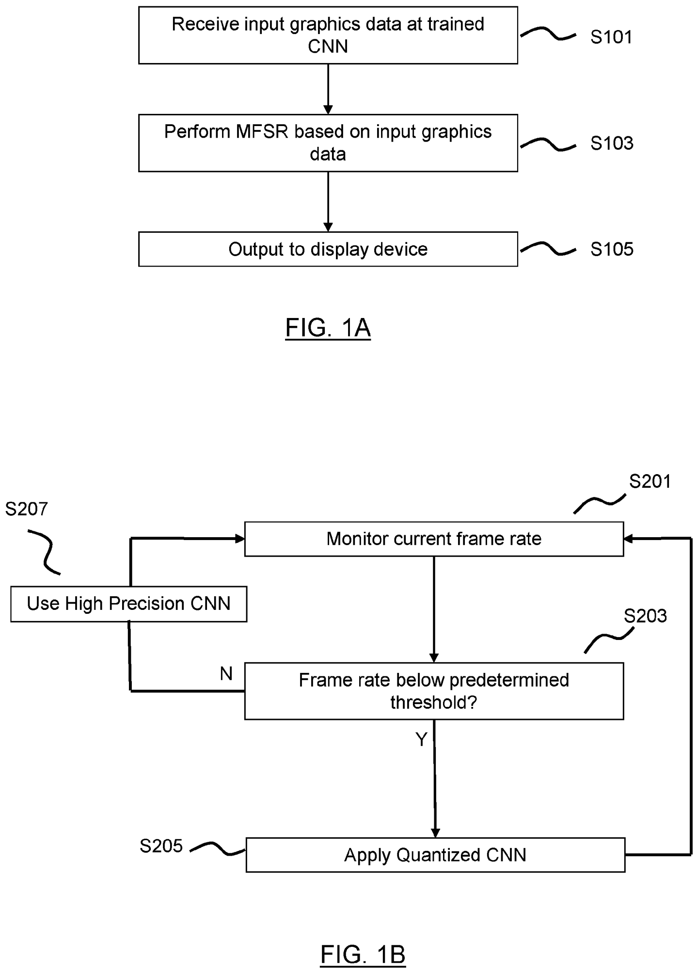
运行机制方面,在 GPU 负载激增、帧率出现下降趋势时,PSSR 会动态降低卷积神经网络(CNN)的权重精度。
这种对 AI 工作负载的动态“减负”操作对实际游玩画面的影响微乎其微,却能有效维持高内部分辨率和稳定的帧率。一旦系统性能稳定下来,PSSR 便会迅速恢复到全精度模式,从而确保玩家在快节奏游戏中也能获得平滑的视觉体验。

实现效果方面,这一动态调整机制将大幅减少甚至消除画面伪影及其他性能异常,让游戏画面看起来更加自然。索尼指出,目前市面上的主流超分工具均依赖于预先训练好的固定精度模型,在面临高负载时往往会损害帧率和视觉质量。

相比之下,PSSR 基于 GPU 负载和性能波动,灵活切换不同 CNN 精度间,让其在与其他竞品的较量中占据极大的技术优势。

新浪科技公众号
“掌”握科技鲜闻 (微信搜索techsina或扫描左侧二维码关注)










