IT之家 2 月 11 日消息,科技媒体 Appleinsider 昨日(2 月 10 日)发布博文,报道称苹果公司获批名为《具有局部亮度调节功能的显示器》专利,暗示其正探索屏下指纹识别技术,应用范围将覆盖 iPhone Fold、iPad 及 Mac 电脑。
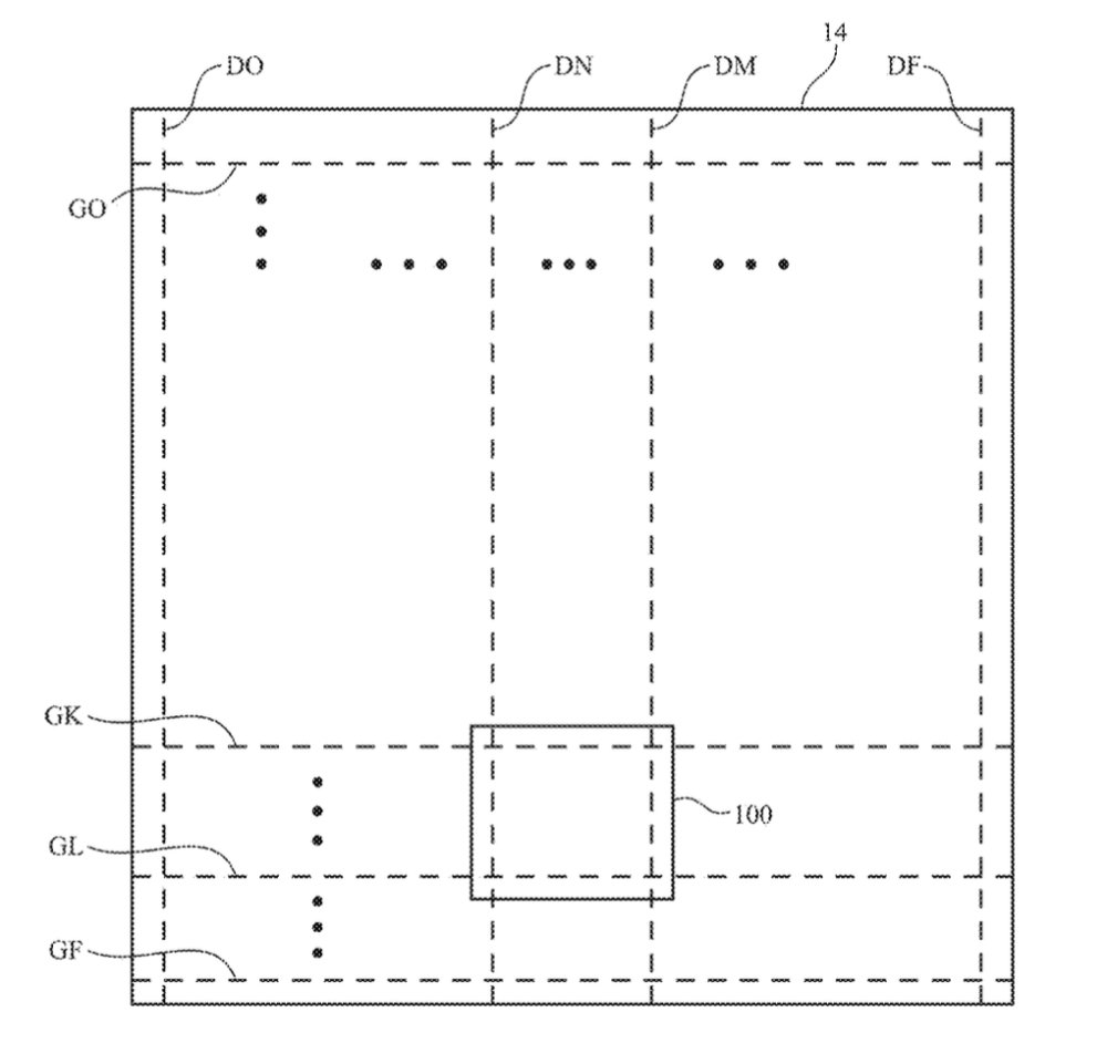
IT之家援引专利描述,其核心在于通过控制电路,指挥显示屏上的特定像素子集发光。在用户手指触摸屏幕后,这些像素会像相机的闪光灯一样照亮指纹,反射的光线随后穿过屏幕内的透明窗口,被下方的光传感器阵列捕获。这种闪光仅局限于指纹接触区域,屏幕的其它部分仍能正常显示内容。

这项技术可能会率先应用于苹果首款折叠手机 iPhone Fold 上,由于折叠屏机身设计极薄,可能无法容纳 Face ID 组件,因此 Touch ID 成为必选项。

尽管此前有爆料称 iPhone Fold 将效仿 iPad Air 4 采用侧边电源键指纹解锁,但这项专利表明,苹果仍在积极储备屏下指纹技术。
该专利于 2025 年 1 月提交申请,且苹果在同年 7 月还申请了 Mac 面部识别专利,这表明苹果正同步推进研发多种生物识别方案。
新浪科技公众号
“掌”握科技鲜闻 (微信搜索techsina或扫描左侧二维码关注)










