红星新闻记者 吴丹若
明天就要正式发布鸿蒙系统了,鸿蒙商标的问题到底解决了没?
近日,有微博博主爆料称,华为把鸿蒙商标买过来了。也就是说,华为或已获得了惠州契贝科技转让的鸿蒙商标。
微博博主上传的商标转让转移公告根据这位博主上传的图片,国家知识产权局公告显示,鸿蒙商标正式由惠州契贝科技转让给华为,其中包括鸿蒙以及HONGMENG等共计3个字样商标权限转让。
截至目前,华为方面未就是否解决了鸿蒙中文商标问题做出表述。
此前在5月12日,北京知识产权法院最新判决,驳回华为对于“鸿蒙”商标的相关诉讼,原因是有两家公司已有近似商标。
红星资本局调查发现,惠州契贝科技转让给华为的3个鸿蒙商标,转让时处在申请过程中,目前的状态是驳回复审。在复审期间,华为有权继续使用鸿蒙商标,但不能表明已注册标识(R),而是使用TM标志。
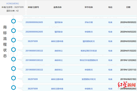
转让给华为的鸿蒙商标的流程状态哪两家公司持有鸿蒙商标?
持有的商标有效吗?
据红星新闻此前报道,北京知识产权法院判决书显示,诉争商标为纯文字商标“鸿蒙”,引证商标一位图形文字组合商标“CRM鸿蒙及图”,其中文识部分为“鸿蒙”,引证商标二位纯文字商标“鸿蒙”。诉争商标与引证商标构成近似商标,容易造成相关公众混淆误认。法院对诉争商标注册申请的驳回理由正当,程序合法。
据法院审理查明信息,有两家公司注册有“鸿蒙”相关的商标信息,包括河北鸿蒙广告发展有限公司(以下简称河北鸿蒙广告)和北京海岸鸿蒙标准物质技术有限责任公司(以下简称北京海岸鸿蒙)。
华为鸿蒙商标的关键在国际分类为42-网站服务的商标。
天眼查APP显示,河北鸿蒙广告2011年申请注册了国际分类为42-网站服务的鸿蒙商标,注册号/申请号10024420,该商标的有效期到2023年2月。2017年,该公司还申请注册了国际分类为38-通讯服务的鸿蒙商标,该商标的有效期到2028年2月。
不过国家知识产权局数据显示,上述两个商标目前处在撤销/无效宣告申请审查中。
值得一提的是,5月2日发布的一份裁判文书显示,惠州契贝科技此前曾向国家知识产权局提出,河北鸿蒙广告注册的鸿蒙商标(10024420)连续三年不使用,要求撤销注册。一审法院驳回了惠州契贝科技的申请;二审法院维持原判。
此外,北京海岸鸿蒙2010年12月申请注册了42类鸿蒙CRM商标,将于2022年4月到期,目前处在撤销/无效宣告申请审查中。公司2020年6月申请的鸿蒙CRM商标被驳回复审,2021年4月申请的鸿蒙CRM商标在等待实质审查。
泰和泰律师事务所知识产权律师黄春海告诉红星资本局,处在撤销/无效宣告申请审查中的商标,如果此前注册成功,仍然有效。
华为此前指出,这些商标因至少连续3年未使用被提起撤销申请,即将被撤销,不应构成华为申请商标的权利障碍。不过法院最终驳回了华为的诉讼请求。
有市场分析人士此前指出,有关“鸿蒙”商标问题,华为有三个选择:第一继续通过法律途径诉讼,但因缺乏法律及事实依据,较难赢得诉讼;第二,鸿蒙系统改名,此选择可行性也不强,毕竟鸿蒙已在国内有一定知名度和影响力,改名将对该系统商用造成一定影响;第三,购买“鸿蒙”商标,这需看双方商谈情况。
华为从另一家公司买的鸿蒙商标
真的有效吗?
近日,有微博博主称,华为获得了惠州契贝科技转让的鸿蒙商标。
该博主上传的国家知识产权局公告显示,2020年2月6日,惠州市契贝科技有限公司向华为技术有限公司转让了3个商标,分别是HONGMENG(注册号/申请号38297699,类别42)、HONGMENG(注册号/申请号38302114,类别9)、鸿蒙(注册号/申请号38307327,类别42)。
惠州契贝科技是谁?
天眼查APP显示,惠州契贝科技现名惠州市顺步科技有限公司。该公司当前的商标记录里没有鸿蒙相关商标。
红星资本局搜索国家知识产权局商标局发现,这位微博博主提到的3个鸿蒙商标,目前均在华为技术有限公司名下,申请日期为2019年5月至6月,2019年12月至2020年1月转让。不过上述3个商标均处在驳回复审中。
红星资本局注意到,鸿蒙(38307327)在转让前的商标注册申请被驳回复审,转让成功后再次被驳回复审。另外两个HONGMENG商标,转让前的商标注册申请受理通知书发文,转让成功后的商标注册申请被驳回通知发文。
黄春海律师告诉红星资本局,申请受理通知书发文,只是表明商标局受理了商标注册申请,并不意味着商标注册成功。而商标在申请过程中是可以转让的,转让后申请状态不变。
驳回复审是指国家商标局以申请注册的商标违反《商标法》的有关规定为由驳回申请人的注册申请,申请人不服国家商标局的驳回决定,在法定的期限内向商标评审委员会申请复审,在复审中陈述不服国家商标局驳回决定的理由,请求商标评审委员会准予申请商标初审公告的程序。
申请人有权在复审期间继续使用商标,但不能表明已注册标识(R),而是使用TM标志。TM标志对商标有一定保护作用,可以防止他人提出重复申请,表示现有商标持有人有优先使用权。
也就是说,华为可以使用鸿蒙商标。如果河北鸿蒙广告和北京海岸鸿蒙的鸿蒙商标到期,或者被宣告无效或撤销,目前处在驳回复审的鸿蒙商标可能注册通过。
截至目前,国家知识产权局商标局数据显示,华为技术有限公司名下国际类别为42的鸿蒙商标,都处于等待实质审查、正等待受理、驳回复审、申请被驳回、不予受理状态。不过HARMONYOS相关商标,倒是有注册成功的案例。
“掌”握科技鲜闻 (微信搜索techsina或扫描左侧二维码关注)










