本文来自色影无忌
Canon News发现了一项专利,该专利显示了佳能计划如何在即将到来的EOS R3 EVF中增加眼控焦点技术。

日本专利申请2021-076832:
…本发明的目的是提出一种在图像摄取设备的EVF上的最佳布置,该EVF设置有该EVF并且可以抑制搭载视线输入的图像拾取设备的可操作性劣化。
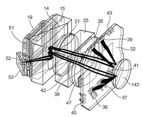
佳能正在使用位于EVF主显示屏侧面的小型图像传感器,并利用潜望棱镜将光线导向该传感器。红外LED点亮您的眼睛以检测瞳孔,并且位于主EVF显示屏周围。
patentevf 02-专利:EVF中的眼睛控制焦点,它将出现在佳能EOS R3中

上图显示了红外光发送到您的瞳孔以由眼控传感器进行检测的路径。
新浪科技公众号
“掌”握科技鲜闻 (微信搜索techsina或扫描左侧二维码关注)










