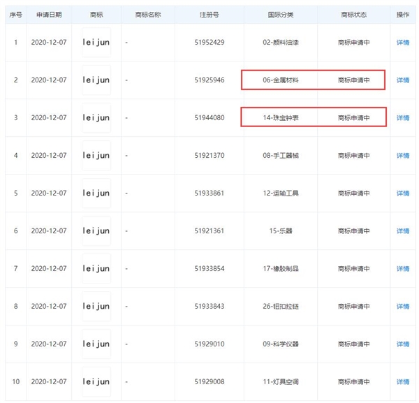
12月11日消息,天眼查显示,小米科技有限责任公司新增多条“leijun”商标信息,涉及国际分类包含金属材料、运输工具、乐器、珠宝钟表等。申请日期为2020年12月7日。目前商标状态为“商标申请中”。
雷军作为小米创办人、小米集团董事长兼CEO,不仅仅是小米的一把手,也是小米的代言人。

从创办小米至今,雷军个人的关注度也逐步提高,小米此次申请雷军拼音商标,更多的是出于保护性质。
毕竟雷军已经是一位知名企业家,本人还被《时尚先生》杂志授予2020时尚先生年度企业家称号。
不仅如此,雷军还被时尚男刊《GQ智族》评选为年度企业家,并登上封面人物。
《GQ》指出,今年是雷军创办小米的第十年,十年奋斗,换来十年飞跃,他重塑了国人对“品质国货”的信念。雷军是当下中国兼具韧性和创新精神的企业家。

新浪科技公众号
“掌”握科技鲜闻 (微信搜索techsina或扫描左侧二维码关注)










