图片来源:视觉中国记者|张晓云
蚂蚁集团暂缓上市后,一有风吹草动就会受到外界关注。
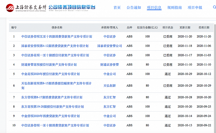
11月23日晚,多家媒体报道称,国泰君安借呗第4-12期消费贷款资产支持专项计划获上交所通过,本期债券品种为ABS,拟发行金额100亿元,原始权益人重庆市蚂蚁商诚小额贷款有限公司,管理人上海国泰君安证券资产管理有限公司。重庆市蚂蚁商诚小额贷款有限公司注册资本40亿元,系蚂蚁集团全资子公司。
11月24日,界面新闻记者查询上交所公司债券项目信息平台公告发现,国泰君安借呗第4-12期消费贷款资产支持专项计划的最新项目状态为“已受理”,并不是“通过”,更新日期为11月20日。对此,上交所方面回复界面新闻称,还没通过。

界面新闻记者查询该网站发现,今年以来,蚂蚁集团旗下花呗、借呗已经在上交所提交了15个ABS高达1250亿元的融资计划,其中,10个项目共计790亿元的融资已经获得批准发行。数据显示,自2016年蚂蚁花呗获批发行ABS之后,蚂蚁花呗通过ABS的申请融资计划项目一共44个,融资金额总计4685 亿。
目前,蚂蚁集团旗下与花呗借呗产品相关的还有5个项目的状态为已受理,但尚未获得通过。
这五个产品分别是10月29日受理的《天弘创新花呗第8~15期消费授信融资资产支持专项计划》、11月3日受理的《中信证券花呗一至十期授信付款资产支持专项计划》、11月6日受理的《国泰君安借呗第4-12期消费贷款资产支持专项计划》、11月10日受理的《财通资管花呗授信付款资产支持专项计划》、11月20日受理的《中信证券借呗五至十四期消费贷款资产支持专项计划》,分别计划融资80亿元、100亿元、100亿元、80亿元、100亿元。
值得注意的是,有3个项目的受理日期在蚂蚁集团暂缓上市日期11月3日之后。

IPO暂停后,上交所是否会继续放行蚂蚁集团花呗借呗相关ABS的融资?过往已通过的花呗借呗相关ABS审批信息显示,从已受理到通过的时间大概为1个月。从时间线来看,近两周或将见分晓。
“掌”握科技鲜闻 (微信搜索techsina或扫描左侧二维码关注)










