三星Z Filp、摩托罗拉Razr等折叠屏手机的面世,让消费者看到另外一种折叠屏手机形态的可能,这种类似翻盖机的设计确实带来了非常便携的使用体验。值得注意的是,华为去年也申请了类似的折叠屏手机专利。

华为折叠屏手机专利
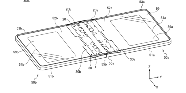
这项专利在2019年4月16日提交,10月22日对外公布,华为在专利中描述了这种折叠屏手机的运行原理,铰链设计和外观设计草图。可见,除了华为Mate X及其后续产品,华为还准备了其他形态的折叠屏手机。

华为折叠屏手机专利
值得注意的是,专利的公布不代表专利中的手机一定会成为将来实际落地的产品,而且现在由于零配件的供应和芯片的短缺,使华为折叠屏手机的推出又多了一分困难。之前有消息称,华为下一款折叠屏手机可能会采用内折方案,搭载麒麟9000。
新浪科技公众号
“掌”握科技鲜闻 (微信搜索techsina或扫描左侧二维码关注)










