原标题:新专利显示苹果未来iPhone 5G或将受益于mmWave物体检测功能 来源:cnBeta.COM
苹果硬件未来可能会提供更快的5G速度,通过使用mmWave信号来判断附近的物体是否阻挡了传输路径,使其能够切换到不同的天线配置。苹果目前推出的iPhone 12系列设备全线支持5G,承诺使用mmWave通信实现千兆级速度。然而,mmWave是5G中最不稳定的元素,相对脆弱的信号在蜂窝通信中的工作距离相当短,同时也容易被物体阻挡。这范围从用户自己的手到玻璃,甚至在某些情况下可能是雨水。
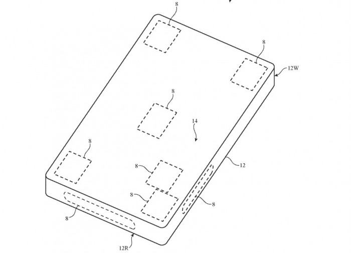
为了解决这个问题,设备配备了多根mmWave天线,最大限度地提高了信号接收或传输的机会,而不会被外力阻挡。即使这样做也不一定完全有帮助,因为虽然设备有可能在任何时候自动切换到接收信号最好的天线,但它并不知道是什么原因导致了问题。
在美国专利和商标局周二授予苹果的一项名为 "具有用于执行近距离检测操作的相位天线阵列的电子设备 "的专利中,苹果表示,可能可以创建一个专门使用mmWave天线的测距系统。首先利用设备上散落着多根天线的事实,该系统将使用一个相位天线阵列,同时提供水平极化和垂直极化的天线馈线。天线还可能提供某种形式的波束转向功能,并连接电路。
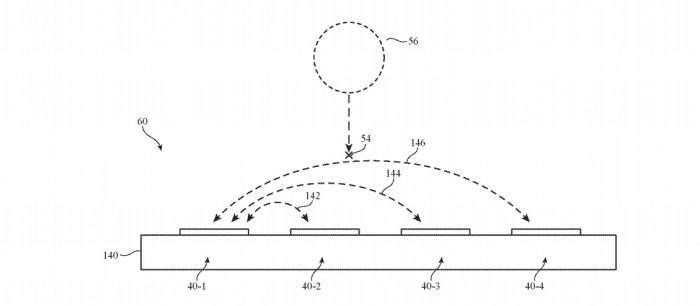
其想法是让该设备从一组馈线以选定的相位发射无线电信号,然后使用同一相位阵列中的第二组馈线监听任何信号反射。相位测量电路将从阵列接收的信号中收集相位测量值,可以与传输的信号进行比较,从而产生相位差值。
这个相位差值可以可行地用于执行物体接近检测操作,即判断附近是否有东西。如果检测到的差值与预定义的标定值相比,超过了一定的阈值,就可以比较确定地知道附近有物体在干扰信号。确定存在阻挡物体后,设备就可以禁用相位天线阵列,选择不同的阵列配置。反之,如果研究出没有阻挡物,系统就可以安全地增加传输的功率水平。
虽然这可能可行地用于许多不同的无线电技术,但该专利的应用似乎主要是针对mmWave,整个过程中反复提到了 "毫米波或厘米波 "的频率。苹果每周都会提交大量的专利申请,但虽然专利申请的存在表明了苹果研发系统感兴趣的领域,但并不能保证它将被用于未来的产品或服务中。




“掌”握科技鲜闻 (微信搜索techsina或扫描左侧二维码关注)










