12月6日,上证指数、深证成指、创业板指、科创50指数早盘探底冲高,午后震荡回落,涨幅缩窄。截至收盘,上证指数报3404.08点,涨1.05%,成交额6859.81亿元;深证成指报10791.34点,涨1.47%,成交额11028.66亿元;创业板指报2267.06点,涨2.05%,成交额5099.16亿元;科创50指数报1014.45点,涨1.26%,成交额1173.31亿元。沪深两市合计成交17888.47亿元,成交额较上一交易日增加2902.27亿元。
传媒、保险等行业走强一鸣食品连收9个涨停板
盘面上来看,行业板块、概念涨多跌少。其中,传媒、保险、钢铁、教育、环保、医药生物、美容护理、建筑装饰等行业涨幅靠前;AI语料、广电、CRO、同步磁阻电机、全息技术、网络游戏、中超概念、影视概念、知识产权、新型城镇化等概念走势活跃。非金属材料、通用设备等行业跌幅居前;PEEK材料、人形机器人、工业母机、汽车一体化压铸、BC电池等概念走势较弱。涨停个股主要集中在传媒、建筑装饰、机械设备、计算机、化工、汽车等行业。
个股涨跌情况,截至收盘,沪深两市合计3569只个股上涨,1456只个股下跌,平盘个股81只,停牌的个股10只。不含当日上市新股,共有134只个股涨停,7只个股跌停。
从收盘涨停板封单量来看,永泰能源最受追捧,收盘涨停板封单有3.13亿股;其次是山子高科、中公教育(维权)、天娱数科、黄河旋风、华丽家族等,涨停板封单分别有2.07亿股、1.14亿股、8311.2万股、8218.97万股、7629.19万股。
以涨停板封单金额计算,33股封单金额超1亿元。其中,永泰能源涨停板封单资金最多,涨停板封单资金为5.8亿元;其次是山子高科、天娱数科、中公教育、黄河旋风、视觉中国等,涨停板封单资金分别为5.26亿元、5.14亿元、4.63亿元、4.57亿元、4.24亿元。

续涨停天数来看,一鸣食品连收9个涨停板,连续涨停板数量最多;其次是山东矿机8连板;泰尔股份7连板;大业股份、五洲新春、日发精机均6连板;建设工业、皇庭国际均5连板;黄河旋风、钱江生化、*ST卓朗(维权)均4连板;云内动力、华丽家族、山东玻纤等7股均3连板;中公教育、天娱数科、福石控股、文峰股份、全筑股份、东易日盛、御银股份、风语筑等28股均2连板。
沪深两市主力资金净流出256.52亿元 12个行业主力资金呈现净流入
统计显示,沪深两市主力资金今日净流出256.52亿元。其中,创业板主力资金净流出85.67亿元,沪深300成份股主力资金净流入35.13亿元,科创板主力资金净流出14.88亿元。
从行业来看,申万所属的31个一级行业,今日有12个行业主力资金呈现净流入,其中,传媒行业主力资金净流入最多,净流入金额为25.17亿元;行业主力资金净流入居前的还有非银金融、医药生物、食品饮料,净流入金额分别为13.86亿元、10.36亿元、9.66亿元。19个行业主力资金呈现净流出,其中,机械设备行业主力资金净流出最多,净流出金额为84.47亿元;行业主力资金净流出靠前的还有计算机、电子、商贸零售、汽车、电力设备,净流出金额分别为80.07亿元、33.29亿元、26.55亿元、24.05亿元、19.13亿元。
尾盘主力资金净流入来看,有12个行业获尾盘主力资金净流入,其中,医药生物行业尾盘主力资金净流入最多,净流入金额为2.75亿元;其次是银行、传媒、电子、纺织服装、有色金属、化工等行业,尾盘主力资金净流入均超5000万元。

96股获主力资金净流入超亿元尾盘主力资金抢筹和邦生物等
个股来看,今日有2067个股获主力资金净流入,其中,96股获主力资金净流入超1亿元。永泰能源主力资金净流入最多,净流入金额为9.93亿元;主力资金净流入居前的个股还有宁德时代、药明康德、鸿博股份(维权)、君正集团、东方智造,净流入金额分别为8.88亿元、5.36亿元、4.96亿元、4.31亿元、4.05亿元。
尾盘主力资金净流入来看,有36股获尾盘主力资金净流入超3000万元,其中,和邦生物尾盘主力资金净流入最多,净流入金额为1.68亿元;其次是网达软件、同花顺、工业富联、蓝色光标、永泰能源、领益智造等,尾盘主力资金净流入均超8000万元。

117股被主力资金净卖出超亿元
今日有3037只个股被主力资金净卖出,其中,117股被主力资金净卖出超1亿元。主力资金净流出最多的个股是利欧股份,净流出金额为20.88亿元;主力资金净流出居前的个股还有岩山科技、巨轮智能、奋达科技、跨境通(维权)、银之杰,净流出金额分别为20.75亿元、11.46亿元、11.35亿元、10.84亿元、10.24亿元。
尾盘主力资金净卖出来看,有62股被尾盘主力资金净卖出超3000万元,其中,尾盘主力资金净流出最多的个股是利欧股份,净流出金额为4.68亿元;其次是山东矿机、岩山科技、供销大集、跨境通、银之杰等股,尾盘主力资金净流出均超1.5亿元。

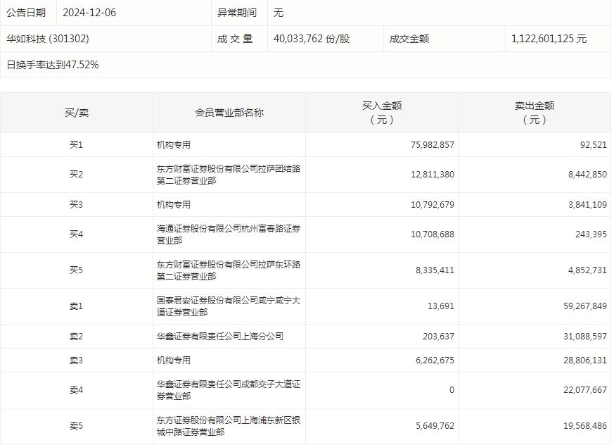
龙虎榜机构净买入9股华如科技居首
盘后龙虎榜数据显示,今日机构席位资金合计净卖出约3.26亿元。其中,净买入的个股9只,净卖出的个股13只。机构净买入最多的股票是华如科技,净买入金额约6029.85万元。机构净买入居前的还有东方智造、天利科技、爱仕达等股。机构净卖出最多的股票是跨境通,净卖出金额约1.46亿元;机构净卖出居前的还有大业股份、五洲新春、岭南股份等股。

华如科技今天涨1.45%。盘后数据显示,3家机构出现在龙虎榜单上,合计净买入6029.85万元;东方财富证券股份有限公司拉萨团结路第二证券营业部买入1281.14万元,同时卖出844.29万元;国泰君安证券股份有限公司咸宁咸宁大道证券营业部买入1.37万元,同时卖出5926.78万元。


VIP课程推荐
APP专享直播
热门推荐
收起24小时滚动播报最新的财经资讯和视频,更多粉丝福利扫描二维码关注(sinafinance)
