龙虎榜丨泰尔股份今日涨停走出“地天板”,一机构净卖出4312.89万元

龙虎榜丨泰尔股份今日涨停走出“地天板”,一机构净卖出4312.89万元
2024年12月05日 17:00 界面新闻

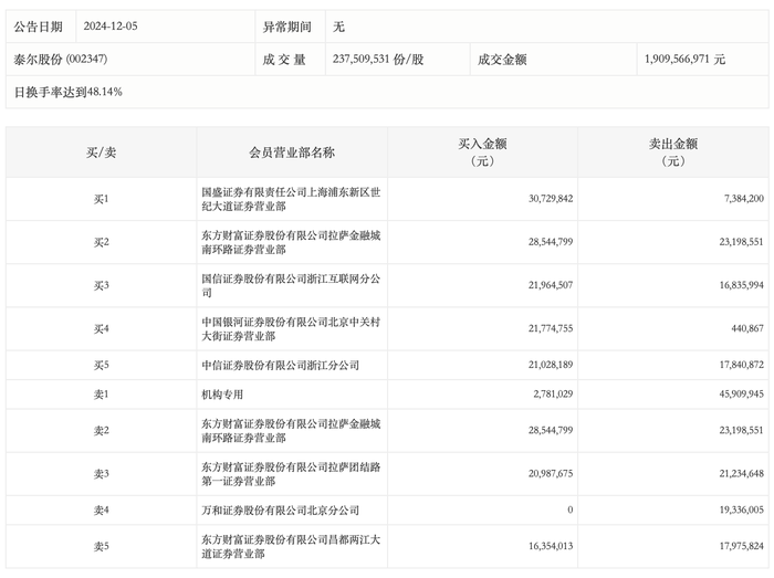
12月5日,泰尔股份今日涨停,走出“地天板”,成交额19.10亿元,换手率48.14%,盘后龙虎榜数据显示,一机构净卖出4312.89万元。

海量资讯、精准解读,尽在新浪财经APP
龙虎榜 泰尔股份

VIP课程推荐

加载中...

APP专享直播

1/10

热门推荐

收起
新浪财经公众号
新浪财经公众号

24小时滚动播报最新的财经资讯和视频,更多粉丝福利扫描二维码关注(sinafinance)

股市直播

  • 图文直播间
  • 视频直播间

7X24小时

  • 12-13 中力股份 603194 --
  • 12-09 博科测试 301598 38.46
  • 12-06 蓝宇股份 301585 23.95
  • 12-02 先锋精科 688605 11.29
  • 11-29 博苑股份 301617 27.76
  • 新浪首页 语音播报 相关新闻 返回顶部